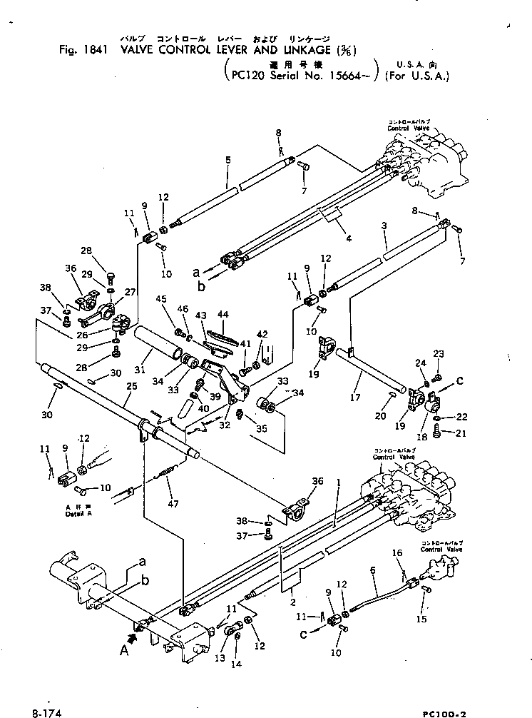
Запчасти Komatsu PC120-2 КЛАПАН РЫЧАГ УПРАВЛ-Я И МЕХАНИЗМ (/) (ДЛЯ США)(№-) ОПЦИОННЫЕ КОМПОНЕНТЫ

Схема запчастей Komatsu PC120-2 - КЛАПАН РЫЧАГ УПРАВЛ-Я И МЕХАНИЗМ (/) (ДЛЯ США)(№-) ОПЦИОННЫЕ КОМПОНЕНТЫ
FIT
1:1
100%

Артикул

Название

Примечание

Количество

1

203-43-31251

ROD

2

203-43-31261

ROD

3

203-43-31660

ROD

4

203-43-31281

ROD

5

203-43-31721

ROD

6

203-43-31711

ROD

7

04205-10822

PIN

8

04050-12012

PIN,COTTER

9

04210-21040

YOKE

10

04205-11028

PIN

11

04050-13018

PIN,COTTER

12

01582-11008

NUT

13

04250-41056

END,ROD

14

01641-21016

WASHER

15

04205-10628

PIN

16

04050-11610

PIN,COTTER

17

203-43-31690

SHAFT

18

203-43-31680

LEVER

19

202-43-11310

BEARING

20

04010-00732

KEY

21

01010-51245

BOLT

22

01643-31232

WASHER

23

01010-51020

BOLT

24

01643-31032

WASHER

25

203-43-31610

SHAFT

26

203-43-31641

LEVER

27

203-43-31650

LEVER

28

01010-51245

BOLT

29

01643-31232

WASHER

30

04010-00732

KEY

31

203-43-31790

SPACER

32

203-43-33260

LEVER

33

06120-03020

BEARING

34

06122-03004

SEAL,BEARING

35

07020-00000

FITTING,GREASE

36

202-43-11310

BEARING

37

01010-51020

BOLT

38

01602-21030

WASHER,SPRING

39

09311-31237

BUMPER

40

01580-11210

NUT

41

01016-50840

BOLT

42

01580-10806

NUT

43

20D-43-13441

PEDAL

44

20D-43-14370

CAP,PEDAL

45

01010-50830

BOLT

46

01602-20825

WASHER,SPRING

47

154-43-15330

SPRING

Выбрано товаров: 47