Запчасти Komatsu PC120-2 ТОПЛ. БАК И ТОПЛИВОПРОВОД (PC) КОМПОНЕНТЫ ДВИГАТЕЛЯ И ЭЛЕКТРИКА

Схема запчастей Komatsu PC120-2 - ТОПЛ. БАК И ТОПЛИВОПРОВОД (PC) КОМПОНЕНТЫ ДВИГАТЕЛЯ И ЭЛЕКТРИКА
FIT
1:1
100%

Артикул

Название

Примечание

Количество

|$0

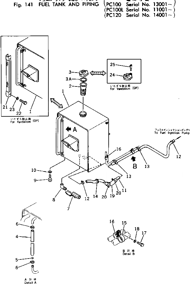
203-04-00011

FUEL TANK ASS'Y

|$1

203-04-00030

FUEL TANK ASS'Y,(FOR VANDALISM)

1

TANK

1

203-04-31520

TANK,(FOR VANDALISM)

2

07056-18416

STRAINER

3

07050-21200

CAP

3A

07050-21202

GASKET

4

203-04-31121

TUBE

5

201-04-21160

BALL

6

07281-00197

CLAMP

7

07700-40240

VALVE

8

07323-30200

ELBOW

9

01010-51430

BOLT

10

01643-31445

WASHER

11

203-04-31151

TUBE

12

07281-00197

CLAMP

13

08034-00414

BAND

14

08037-03620

GROMMET

15

08036-01814

CLIP

16

08036-10814

CLIP

17

01010-31220

BOLT

18

01643-31232

WASHER

19

203-04-31230

COVER

20

08034-00519

BAND

21

203-54-33340

COVER,(FOR VANDALISM)

22

01010-51020

BOLT,(FOR VANDALISM)

23

01643-31032

WASHER,(FOR VANDALISM)

24

07091-01200

CAP,(FOR VANDALISM)

25

08086-10001

KEY,(FOR VANDALISM)

Выбрано товаров: 29