Запчасти Komatsu PC120-2 ГИДРОЛИНИЯ (КЛАПАН TO/FROM ЦИЛИНДР СТРЕЛЫ)(ШАССИ) ГИДРАВЛИКА

Схема запчастей Komatsu PC120-2 - ГИДРОЛИНИЯ (КЛАПАН TO/FROM ЦИЛИНДР СТРЕЛЫ)(ШАССИ) ГИДРАВЛИКА
FIT
1:1
100%

Артикул

Название

Примечание

Количество

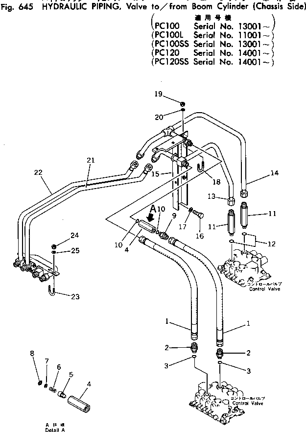
1

07123-00608

HOSE

2

07230-10628

UNION

3

07002-12434

O-RING

|$3

203-60-21300

CHECK VALVE ASS'Y

4

203-60-21240

BODY

5

203-60-21250

POPPET

6

203-60-21260

SPRING

7

203-60-21270

SEAT

8

04065-02212

RING,SNAP

9

07230-10628

UNION

10

07002-12434

O-RING

11

203-62-11590

NIPPLE

12

07002-12434

O-RING

13

203-62-31462

TUBE

14

203-62-31522

TUBE

15

203-62-31633

BRACKET

16

01010-31225

BOLT

17

01643-31232

WASHER

18

07283-22738

CLIP

19

01599-01011

NUT

20

01643-31032

WASHER

21

203-62-31423

TUBE

22

203-62-31473

TUBE

23

07283-22738

CLIP

24

01599-01011

NUT

25

01643-31032

WASHER

Выбрано товаров: 26