/ / / / / / КАБИНА (/) (КРОМЕ ЯПОН.)(№8-)
Запчасти Komatsu PC120-3 КАБИНА (/) (КРОМЕ ЯПОН.)(№8-) ОСНОВНАЯ РАМА И КАБИНА
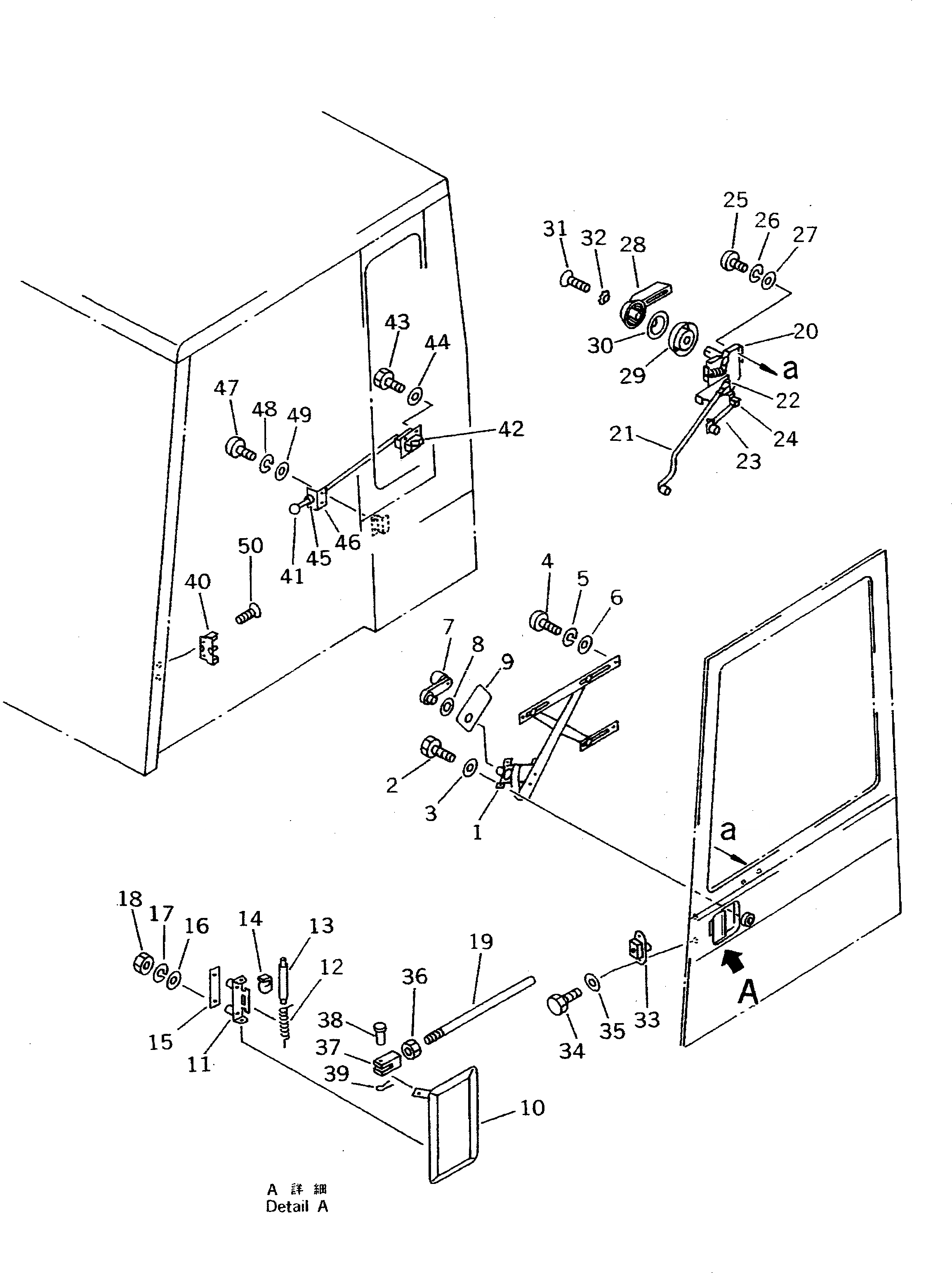
|$0
21K-54-00411
OPERATOR'S CAB ASS'Y
|$1
21K-54-00410
OPERATOR'S CAB ASS'Y
|$3
205-54-00274
DOOR ASS'Y
|$4
203-54-00151
DOOR ASS'Y
1
205-54-71632
REGULATOR ASS'Y
1
205-54-71631
REGULATOR ASS'Y
2
01010-50610
BOLT
3
01643-30623
WASHER
4
01220-40608
SCREW
5
01602-20619
WASHER,SPRING
6
01641-20608
WASHER
7
205-54-71970
HANDLE
8
566-54-24270
ESCUTCHEON
9
205-54-71780
SEAL,WATER
|$16
205-54-72101
HANDLE ASS'Y
10
205-54-72111
HANDLE
11
205-54-72121
BRACKET
12
205-54-72130
SPRING
13
205-54-72140
PIN
14
205-54-72150
CUSHION
15
205-54-72160
PACKING
16
01641-20608
WASHER
17
01602-20619
WASHER,SPRING
18
01580-10605
NUT
19
205-54-76290
ROD
|$27
205-54-71803
CONTROL ASS'Y
20
205-54-71812
CONTROL
21
205-54-71721
ROD
22
205-54-71830
SNAP
23
205-54-71822
ROD
24
205-54-71840
SNAP
25
01220-40610
SCREW
26
01602-20619
WASHER,SPRING
27
01641-20608
WASHER
28
205-54-71760
HANDLE
29
566-54-24260
BASE
30
566-54-24270
ESCUTCHEON
31
01225-40510
SCREW
32
205-54-71880
WASHER,LOCK
33
205-54-71710
LOCK ASS'Y
34
01010-50616
BOLT
35
01643-30623
WASHER
36
01580-10605
NUT
37
04211-20634
YOKE
38
04205-10620
PIN
39
04052-00633
PIN,SNAP
40
205-54-71731
STRIKER
41
205-54-72840
KNOB
42
20G-54-12110
LOCK ASS'Y
43
01010-50620
BOLT
44
01643-30623
WASHER
45
205-54-72830
GROMMET
46
20G-54-12120
BRACKET
47
01220-40620
SCREW
48
01602-20619
WASHER,SPRING
49
01641-20608
WASHER
50
01220-40820
SCREW
Выбрано товаров: 0