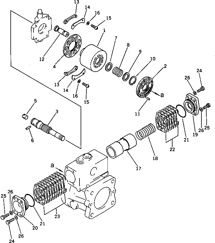
Запчасти Komatsu PC120-3 ГИДР. НАСОС.¤ ЗАДН. (/) УПРАВЛ-Е РАБОЧИМ ОБОРУДОВАНИЕМ

Схема запчастей Komatsu PC120-3 - ГИДР. НАСОС.¤ ЗАДН. (/) УПРАВЛ-Е РАБОЧИМ ОБОРУДОВАНИЕМ
FIT
1:1
100%

Артикул

Название

Примечание

Количество

|$0

708-23-01012

PUMP ASS'Y (HPV55+55)

|$1

708-23-01011

PUMP ASS'Y (HPV55+55)

|$2

708-23-01010

PUMP ASS'Y (HPV55+55)

|$3

708-23-10101

PUMP ASS'Y (HPV55+55)

|$5

708-23-11101

PUMP SUB ASS'Y

|$6

708-23-11100

PUMP SUB ASS'Y

|$8

708-23-00020

BLOCK ASS'Y

|$9

708-23-00140

BLOCK ASS'Y

1

CYLINDER BLOCK

1

CYLINDER BLOCK

2

PLATE,VALVE

3

708-23-12720

SHAFT,REAR

4

708-23-13342

RETAINER,SHOE

4

708-23-13341

RETAINER,SHOE

5

708-23-12930

COUPLING

6

708-23-12940

PIN

7

708-23-13130

WASHER

8

708-23-13140

SPRING

9

708-23-13120

WASHER

10

04065-03815

RING,SNAP

11

720-68-19610

PIN

12

708-23-13311

PISTON ASS'Y

12

708-23-13310

PISTON ASS'Y

13

708-23-05041

SPACER KIT

13

708-23-05040

SPACER KIT

13

SPACER

13

SPACER

13

SPACER

13

SPACER

13

SPACER

13

SPACER

14

708-23-13431

RETAINER,BEARING

15

708-23-13460

SCREW

16

01643-30623

WASHER

17

708-23-14110

PISTON

18

708-23-14130

SPRING

19

708-23-14140

CAP

20

708-23-14150

CAP

21

07000-02055

O-RING

22

708-23-05080

SHIM KIT

22

SHIM

22

SHIM

22

SHIM

22

SHIM

23

708-23-05090

SHIM KIT

23

SHIM

23

SHIM

23

SHIM

23

SHIM

24

01010-50830

BOLT

25

01010-30830

BOLT

26

01643-30823

WASHER

Выбрано товаров: 52