Качественные детали и логистика
Оригинальные и аналоговые запчасти с доставкой по России, Казахстану и Беларуси
©2022 PartSell ООО "Система" ИНН 2463123282 ОГРН 1212400004838
Центральный офис: г. Красноярск, Академика Киренского, д.87, пом.4
Телефон: 8 (800) 777-65-74 Email: zakaz@partsell.ru
МОРОЗОУСТОЙЧИВ. СПЕЦ-Я СПЕЦ-ЯIFICATIONS(№-)
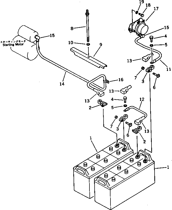
№
Артикул
Название
Примечание
Количество
1
08000-32215
BATTERY, WET
2
08000-00000
TERMINAL, (+)
3
08000-00001
TERMINAL, (-)
4
01050-31018
BOLT
5
01640-01016
WASHER
6
01010-30830
7
01580-00806
NUT
8
203-06-41950
9
203-06-31222
CLAMP
10
01643-31232
11
08028-12045
CABLE
12
08028-12015
13
08038-22009
CAP,TERMINAL
14
203-06-41621
WIRE
15
08038-04030
CAP
16
08036-11214
CLIP
17
08088-10000
SWITCH
18
01010-50816
19
01602-20825
WASHER,SPRING
20
6130-81-9910
PLATE, CAUTION,(NOT SHOWN)
Выбрано товаров: 0