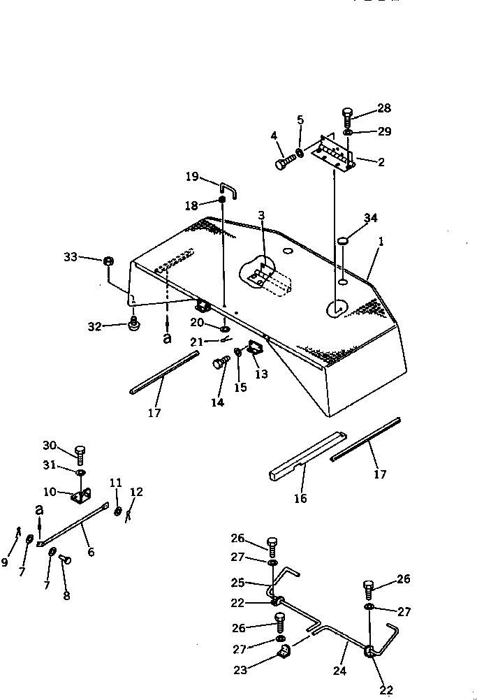
Запчасти Komatsu PC120-3 MACHINERY ОБСТАНОВКА (/)(№-) ОСНОВНАЯ РАМА И КАБИНА

Схема запчастей Komatsu PC120-3 - MACHINERY ОБСТАНОВКА (/)(№-) ОСНОВНАЯ РАМА И КАБИНА
FIT
1:1
100%

Артикул

Название

Примечание

Количество

|$0

203-54-00313

MACHINE CAB ASS'Y

1

HOOD

2

203-54-44950

HINGE,L.H.

3

203-54-44960

HINGE,R.H.

4

01010-51020

BOLT

5

01643-31032

WASHER

6

203-54-45610

STAY

7

175-54-88110

WASHER

8

04205-11035

PIN

9

04050-13020

PIN,COTTER

10

203-54-42243

BRACKET

11

01641-21016

WASHER

12

04050-13020

PIN,COTTER

13

21K-54-26320

BRACKET

14

01010-51025

BOLT

15

01643-31032

WASHER

16

203-54-42861

SEAT

17

203-54-42830

TRIM

18

08037-01008

GROMMET

19

20G-54-11590

BAR

20

01643-31032

WASHER

21

04050-12020

PIN,COTTER

22

203-54-42271

PLATE

23

203-54-42281

PLATE

24

203-54-42570

BAR,TORSION, L.H.

25

203-54-42580

BAR,TORSION, R.H.

26

01010-51020

BOLT

27

01643-31032

WASHER

28

01010-51020

BOLT

29

144-854-1890

WASHER

30

01010-51020

BOLT

31

01643-31032

WASHER

32

201-54-21360

CUSHION

33

01580-10504

NUT

34

09414-00053

CAP

Выбрано товаров: 35