Запчасти Komatsu PC120-3 КАБИНА¤ ОСНОВН. КОНСТРУКЦИЯ (ДЛЯ WRIST УПРАВЛ-Е)(№-) ОСНОВНАЯ РАМА И КАБИНА

Схема запчастей Komatsu PC120-3 - КАБИНА¤ ОСНОВН. КОНСТРУКЦИЯ (ДЛЯ WRIST УПРАВЛ-Е)(№-) ОСНОВНАЯ РАМА И КАБИНА
FIT
1:1
100%

Артикул

Название

Примечание

Количество

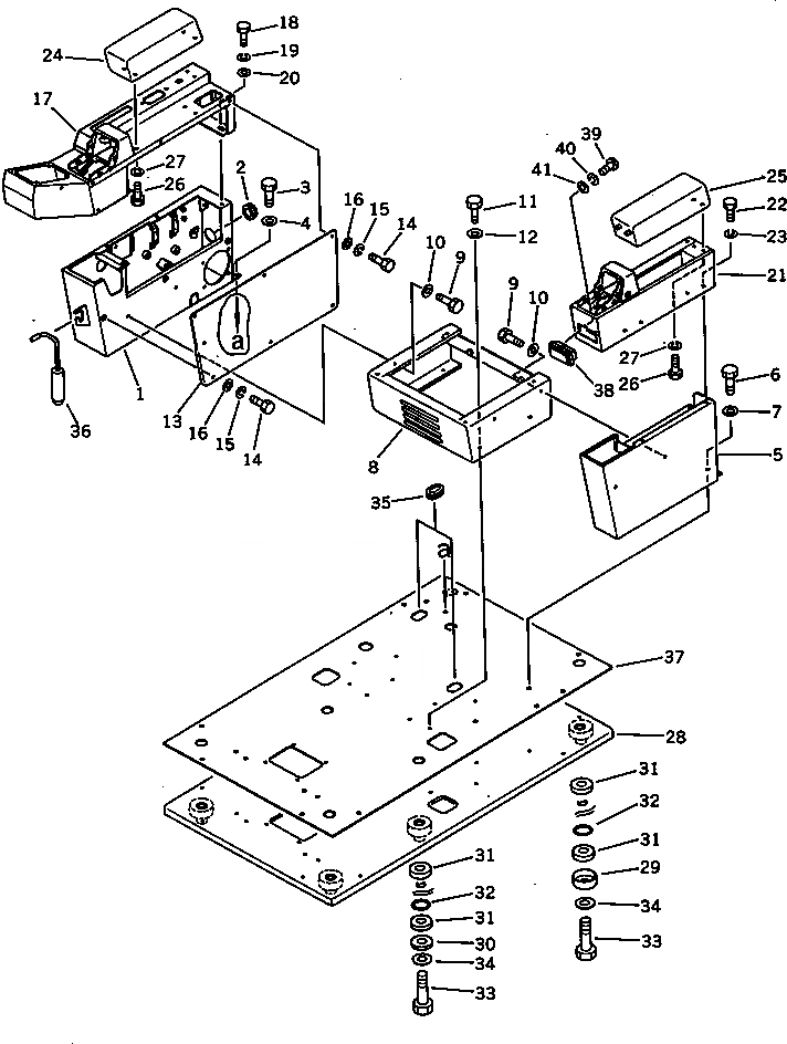
1

203-54-41523

BOX,R.H.

2

08037-05016

GROMMET

3

01010-51225

BOLT

4

01643-31232

WASHER

5

203-54-41534

BOX,L.H.

6

01010-51225

BOLT

7

01643-31232

WASHER

8

203-54-41113

BRACKET

9

01010-51025

BOLT

10

01643-31032

WASHER

11

01010-51230

BOLT

12

01643-31232

WASHER

13

203-54-41193

COVER

14

01010-50612

BOLT

15

01602-20619

WASHER,SPRING

16

01640-20610

WASHER

17

203-54-41125

BOX,R.H.

18

01010-50820

BOLT

19

01602-20825

WASHER,SPRING

20

01643-30823

WASHER

21

203-54-41134

BOX,L.H.

22

01010-50820

BOLT

23

01602-20825

WASHER,SPRING

24

203-54-41172

CUSHION,R.H.

25

203-54-41182

CUSHION,L.H.

26

01010-50820

BOLT

27

01602-20825

WASHER,SPRING

28

203-54-41145

FRAME,FLOOR

29

201-54-21860

COLLAR

30

205-54-51950

PLATE

31

203-54-21110

CUSHION

32

07000-03025

O-RING

33

01010-51675

BOLT

34

01643-31645

WASHER

35

176-911-4160

GROMMET

36

203-54-41412

PIN

37

203-54-41251

MAT,FLOOR

Выбрано товаров: 0