/ / / / / / МЕХАНИЗМ УПРАВЛ-Я ПОДАЧЕЙ ТОПЛИВА (БЕЗ АВТОМ. ЗАМЕДЛЕНИЕ ОБОРОТОВ)(№-)
Запчасти Komatsu PC120-3 МЕХАНИЗМ УПРАВЛ-Я ПОДАЧЕЙ ТОПЛИВА (БЕЗ АВТОМ. ЗАМЕДЛЕНИЕ ОБОРОТОВ)(№-) КОМПОНЕНТЫ ДВИГАТЕЛЯ И ЭЛЕКТРИКА
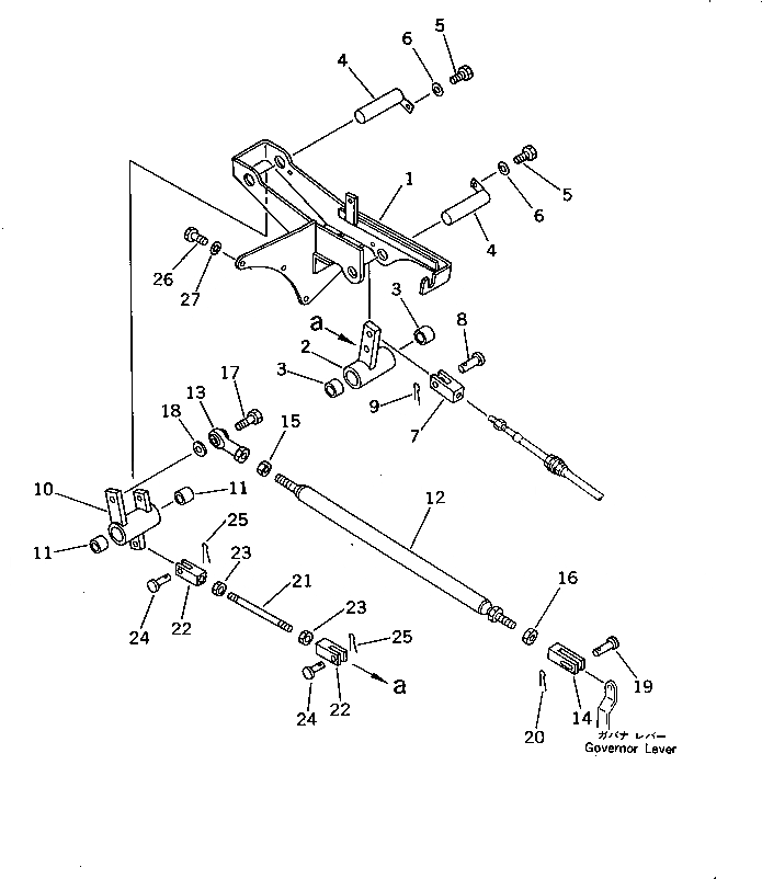
1
203-43-44242
BRACKET
1
203-43-44241
BRACKET
2
203-43-44250
LEVER
3
09350-02220
BUSHING
4
203-43-42910
SHAFT
5
01010-50816
BOLT
6
01643-30823
WASHER
7
203-43-44280
YOKE
8
04205-11028
PIN
9
04050-13018
PIN,COTTER
10
203-43-44260
LEVER
11
09350-02220
BUSHING
12
203-43-44390
ROD
13
04250-61056
END,ROD
14
201-43-21370
YOKE
15
01508-21006
NUT,L.H. THREAD
16
01582-11008
NUT
17
01010-51030
BOLT
18
04254-01032
SPACER
19
04205-10622
PIN
20
04050-11612
PIN,COTTER
21
04245-41020
ROD
22
04211-21055
YOKE
23
01582-11008
NUT
24
04205-11028
PIN
25
04050-13020
PIN,COTTER
26
01010-51035
BOLT
27
01643-31032
WASHER
Выбрано товаров: 0