Запчасти Komatsu PC120-3 ГИДРОЛИНИЯ (ГЛАВН. КОНТУР) (/)(БЕЗ АВТОМ. ЗАМЕДЛЕНИЕ ОБОРОТОВ)(№8-99) УПРАВЛ-Е РАБОЧИМ ОБОРУДОВАНИЕМ

Схема запчастей Komatsu PC120-3 - ГИДРОЛИНИЯ (ГЛАВН. КОНТУР) (/)(БЕЗ АВТОМ. ЗАМЕДЛЕНИЕ ОБОРОТОВ)(№8-99) УПРАВЛ-Е РАБОЧИМ ОБОРУДОВАНИЕМ
FIT
1:1
100%

Артикул

Название

Примечание

Количество

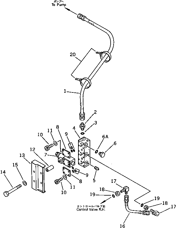
1

07102-20312

HOSE

2

07230-10315

UNION

3

07002-02034

O-RING

4

203-62-41812

BLOCK

5

07042-10108

PLUG

6

07040-11409

PLUG

6A

07002-11423

O-RING

7

21K-60-12301

SOLENOID VALVE ASS'Y

7

07000-11009

O-RING

7

01252-40545

BOLT

8

203-62-42960

COVER

9

07000-11009

O-RING

10

01252-40520

BOLT

11

01601-20513

WASHER,SPRING

12

203-62-44510

SPACER

13

203-62-44490

COVER

14

01011-51235

BOLT

15

01643-31232

WASHER

16

203-62-44120

HOSE

17

07232-20210

ELBOW

18

07239-11408

NUT

19

07002-01423

O-RING

20

08034-00823

BAND

Выбрано товаров: 23