Качественные детали и логистика
Оригинальные и аналоговые запчасти с доставкой по России, Казахстану и Беларуси
©2022 PartSell ООО "Система" ИНН 2463123282 ОГРН 1212400004838
Центральный офис: г. Красноярск, Академика Киренского, д.87, пом.4
Телефон: 8 (800) 777-65-74 Email: zakaz@partsell.ru
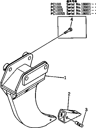
ОДНОЗУБЫЙ РЫХЛИТЕЛЬ
№
Артикул
Название
Примечание
Количество
|$0
202-950-0012
RIPPER ASS'Y,SINGLE SHANK
|$1
202-950-0011
1
RIPPER
2
175-78-31230
POINT
3
09244-02508
PIN
4
01011-51640
BOLT
Выбрано товаров: 0