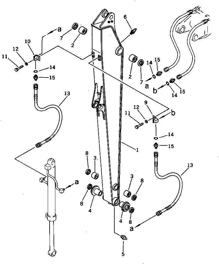
Запчасти Komatsu PC120-3 УДЛИНН. РУКОЯТЬ(№-) РАБОЧЕЕ ОБОРУДОВАНИЕ

Схема запчастей Komatsu PC120-3 - УДЛИНН. РУКОЯТЬ(№-) РАБОЧЕЕ ОБОРУДОВАНИЕ
FIT
1:1
100%

Артикул

Название

Примечание

Количество

|$0

203-943-0022

LONG ARM ASS'Y

|$1

203-943-0021

LONG ARM ASS'Y

1

ARM,LONG

2

203-70-32142

BUSHING

2

203-70-32141

BUSHING

3

203-70-33150

BUSHING

4

203-70-42181

BUSHING

4

203-70-42180

BUSHING

5

07020-00000

FITTING,GREASE

6

07020-00675

FITTING,GREASE

7

07145-00070

SEAL,DUST

8

203-70-33210

SEAL,DUST

9

202-943-5130

BLOCK,L.H.

10

202-943-5140

BLOCK,R.H.

11

01010-51225

BOLT

12

01643-31232

WASHER

13

07096-20412

HOSE

14

07002-12434

O-RING

15

232-60-14271

NIPPLE

15

22W-60-16310

NIPPLE

Выбрано товаров: 0