Запчасти Komatsu PC120-3 MACHINERY ОБСТАНОВКА (/) (REGULATION OF SWEDEN)(№-) СПЕЦ. APPLICATION ЧАСТИ¤ МАРКИРОВКА¤ ИНСТРУМЕНТ И РЕМКОМПЛЕКТЫ

Схема запчастей Komatsu PC120-3 - MACHINERY ОБСТАНОВКА (/) (REGULATION OF SWEDEN)(№-) СПЕЦ. APPLICATION ЧАСТИ¤ МАРКИРОВКА¤ ИНСТРУМЕНТ И РЕМКОМПЛЕКТЫ
FIT
1:1
100%

Артикул

Название

Примечание

Количество

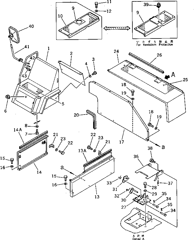
|$0

203-54-00391

COVER ASS'Y

1

COVER

2

203-54-45390

COVER

3

01010-50816

BOLT

4

01643-30823

WASHER

5

154-54-23260

SEAT

6

205-60-71220

LOCK ASS'Y

7

01010-51025

BOLT

8

01643-31032

WASHER

9

203-54-44881

COVER

9

203-54-45421

COVER,(FOR VANDALISM PROTECTION)

10

203-54-44890

SEAT

11

01010-51020

BOLT

12

01643-31032

WASHER

13

203-54-42172

COVER

13A

203-54-45720

TRIM

14

203-54-42182

COVER

14A

203-54-45720

TRIM

15

01010-51020

BOLT

16

01643-31032

WASHER

17

203-54-42961

COVER

18

01010-51025

BOLT

19

01643-31032

WASHER

20

09412-10005

SEAL

21

203-54-42780

PLATE

22

01010-51020

BOLT

23

01643-31032

WASHER

24

203-54-44912

COVER

25

203-54-44920

SEAT

26

203-54-42170

COVER

27

21K-54-26310

BRACKET

28

01010-51020

BOLT

29

01643-31032

WASHER

30

21K-54-26330

PLATE

31

21K-54-26340

LEVER

32

21K-54-26350

SPRING

33

21K-54-26360

SPRING

34

04205-11038

PIN

35

04050-13020

PIN,COTTER

36

203-54-45730

COVER

37

21K-54-26380

SPRING

38

21K-54-26370

BOLT

39

205-60-71220

LOCK ASS'Y,(FOR VANDALISM PROTECTION)

40

08174-33023

MIRROR

41

203-54-42910

SUPPORT

42

207-54-17840

CLAMP

43

01252-41025

BOLT

Выбрано товаров: 0