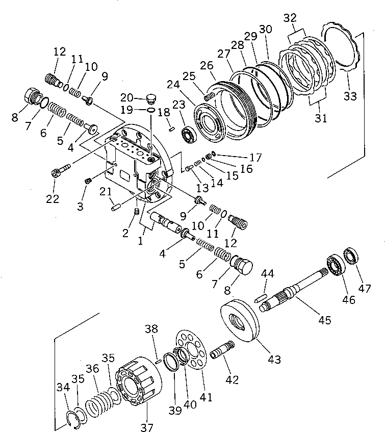
Запчасти Komatsu PC120-3 МОТОР ХОДА (/) (КРОМЕ ЯПОН.)(№88-) ХОД И КОНЕЧНАЯ ПЕРЕДАЧА

Схема запчастей Komatsu PC120-3 - МОТОР ХОДА (/) (КРОМЕ ЯПОН.)(№88-) ХОД И КОНЕЧНАЯ ПЕРЕДАЧА
FIT
1:1
100%

Артикул

Название

Примечание

Количество

|$0

203-60-00310

TRAVEL MOTOR ASS'Y

|$2

TZ150A210101-E

FLANGE KIT

1

FLANGE,REAR

2

SPOOL

3

TZMB700-050

PLUG

4

TZGM1-8

PLUG

5

TZ850A0006-00

PLATE, NAME

6

TZ200A2052-00

STOPPER

7

TZ200A2056-00

SPRING

8

TZ100A2055-00

SPRING

9

07000-13032

O-RING (KIT)

10

TZ100A2051-00

PLUG

11

TZ100A2054-01

VALVE

12

TZ100A2057-01

SPRING

13

07000-12020

O-RING (KIT)

14

TZ100A2053-01

PLUG

15

TZ430F2019-00

VALVE

16

TZ100A2020-00

SPRING

17

07000-11009

O-RING (KIT)

18

TZ100A2018-00

SEAT,VALVE

19

TZ100A2022-00

RING

20

TZJB1354-5-12

PIN,DOWEL

21

07002-02034

O-RING (KIT)

22

TZ100A2021-00

PLUG

23

TZJB1354-10-28

PIN,DOWEL

24

01252-31440

BOLT

25

06000-06005

BEARING

26

TZ210A2009-00

PLATE,TIMING

27

TZ100A2013-00

SPRING

28

TZ231F2012-00

PISTON

29

TZSUN-2BG170

RING,BACK-UP (KIT)

30

07000-15170

O-RING (KIT)

31

07000-15145

O-RING (KIT)

32

TZ231F2023-00

RING,BACK-UP (KIT)

33

TZ100A2016-00

PLATE

34

TZ200A2015-00

DISC

35

TZ200B2074-00

PLATE

36

TZIRTW-55

RING,SNAP

37

TZ150A2010-00

WASHER

38

TZ430F2028-00

SPRING

39

TZ150A2004-00

BLOCK,CYLINDER

40

TZJB1354-3-30

PIN,DOWEL

41

TZ100A2011-00

WASHER KIT

42

TZ100A2008-00

BALL,THRUST

43

TZ100A2007-00

PLATE,RETAINER

|$46

TZ200A2105-00

PISTON KIT

|$47

PISTON ASS'Y

44

PISTON

45

SHOE

46

TZ400A200300-P

PLATE,SWASH

47

TZ100A2017-00

PIN

48

TZ400A2002-00

SHAFT

49

06000-06207

BEARING

50

TZTCN-32-52-11

SEAL,OIL (KIT)

|$56

TZ400A9000-00

SEAL KIT

|$57

07000-15280

O-RING

|$58

TZES100-250-A

SEAL,FLOATING

|$59

07000-11008

O-RING

|$60

TZJW1516-G41-9

O-RING

|$61

TZARP568-378-9

O-RING

|$62

07000-13032

O-RING

|$63

07000-12020

O-RING

|$64

07000-11009

O-RING

|$65

07002-02034

O-RING

|$66

TZSUN-2BG170

RING,BACK-UP

|$67

07000-15170

O-RING

|$68

07000-15145

O-RING

|$69

TZ231F2023-00

RING,BACK-UP

|$70

TZTCN-32-52-11

SEAL,OIL

Выбрано товаров: 0