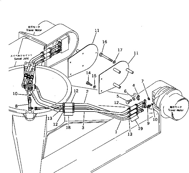
Запчасти Komatsu PC120-3 ГИДРОЛИНИЯ(ПОВОРОТНОЕ СОЕДИНЕНИЕ TO/FROM МОТОР ХОДА)(КРОМЕ ЯПОН.)(№88-) ХОД И КОНЕЧНАЯ ПЕРЕДАЧА

Схема запчастей Komatsu PC120-3 - ГИДРОЛИНИЯ(ПОВОРОТНОЕ СОЕДИНЕНИЕ TO/FROM МОТОР ХОДА)(КРОМЕ ЯПОН.)(№88-) ХОД И КОНЕЧНАЯ ПЕРЕДАЧА
FIT
1:1
100%

Артикул

Название

Примечание

Количество

1

07102-20317

HOSE

2

07097-00517

HOSE

3

07098-00518

HOSE

4

07371-30500

FLANGE,SPLIT

5

01010-50830

BOLT

6

01602-20825

WASHER,SPRING

7

07000-13022

O-RING

8

203-62-41141

ELBOW

9

07230-10315

UNION

10

07002-02034

O-RING

11

203-62-41121

COVER,R.H.

11

203-62-41131

COVER,L.H.

12

203-62-41150

COVER

13

203-62-41160

COVER

14

01010-51025

BOLT

15

01643-31032

WASHER

16

01011-51655

BOLT

17

01643-31645

WASHER

18

08034-00823

BAND

19

08034-00519

BAND

Выбрано товаров: 0