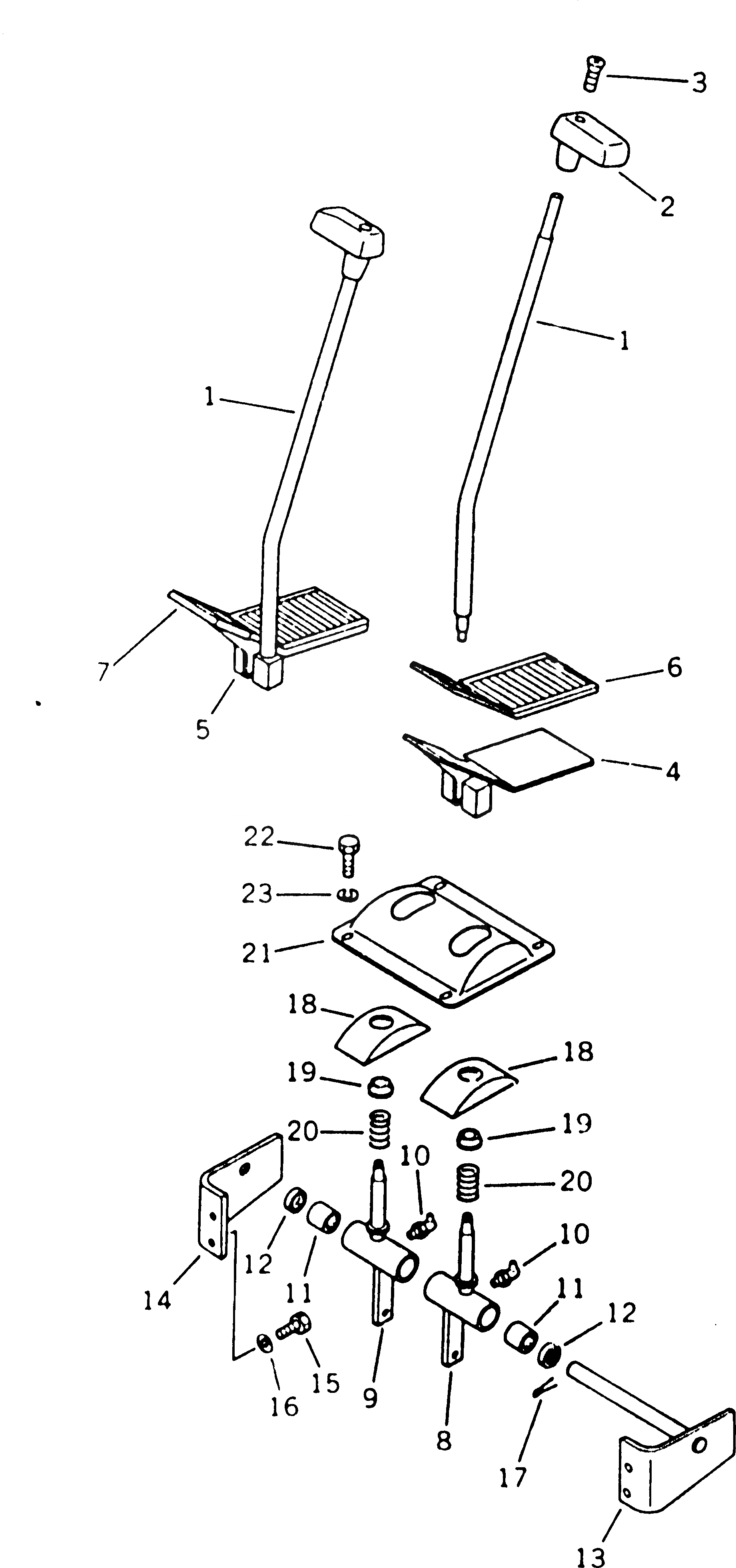
Запчасти Komatsu PC120-3 РЫЧАГ УПРАВЛ-Я ХОДОМ И ПЕДАЛЬ (ДЛЯ УДЛИНН. РЫЧАГ УПРАВЛ-Е)(№8-8) ПОВОРОТН. И СИСТЕМА УПРАВЛЕНИЯ

Схема запчастей Komatsu PC120-3 - РЫЧАГ УПРАВЛ-Я ХОДОМ И ПЕДАЛЬ (ДЛЯ УДЛИНН. РЫЧАГ УПРАВЛ-Е)(№8-8) ПОВОРОТН. И СИСТЕМА УПРАВЛЕНИЯ
FIT
1:1
100%

Артикул

Название

Примечание

Количество

1

203-43-42272

LEVER

2

203-43-41340

KNOB

3

01225-40625

SCREW

4

203-43-41611

PEDAL,L.H.

5

203-43-41591

PEDAL,R.H.

6

203-43-41630

CAP,PEDAL, L.H.

7

203-43-41620

CAP,PEDAL, R.H.

8

203-43-42372

LEVER,L.H.

9

203-43-42670

LEVER,R.H.

10

07020-00900

FITTING,GREASE

11

06120-02016

BEARING

12

06122-02004

SEAL,BEARING

13

203-43-42721

SHAFT

14

203-43-42731

BRACKET

15

01010-51030

BOLT

16

01643-31032

WASHER

17

04050-13030

PIN,COTTER

18

20S-43-11230

COVER

19

203-43-41660

SPACER

20

09340-10130

SPRING

21

203-43-41541

COVER

22

01010-50820

BOLT

23

01602-20825

WASHER,SPRING

Выбрано товаров: 23