Запчасти Komatsu PC120-3 КОНТРОЛЬ ХОДА (ДЛЯ WRIST УПРАВЛ-Е) (АВТОМ. ЗАМЕДЛЕНИЕ ОБОРОТОВ)(№..-) ПОВОРОТН. И СИСТЕМА УПРАВЛЕНИЯ

Схема запчастей Komatsu PC120-3 - КОНТРОЛЬ ХОДА (ДЛЯ WRIST УПРАВЛ-Е) (АВТОМ. ЗАМЕДЛЕНИЕ ОБОРОТОВ)(№..-) ПОВОРОТН. И СИСТЕМА УПРАВЛЕНИЯ
FIT
1:1
100%

Артикул

Название

Примечание

Количество

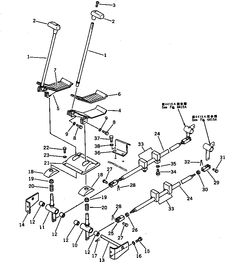
1

203-43-42274

LEVER

1

203-43-42273

LEVER

1

205-43-71871

LEVER

2

203-43-41340

KNOB

3

01225-40625

SCREW

4

203-43-41613

PEDAL,L.H.

4

203-43-41612

PEDAL,L.H.

5

203-43-41593

PEDAL,R.H.

5

203-43-41592

PEDAL,R.H.

6

205-43-71911

CAP,PEDAL, L.H.

7

205-43-71921

CAP,PEDAL, R.H.

8

01010-50825

BOLT

9

01643-30823

WASHER

10

203-43-42375

LEVER,L.H.

10

203-43-42374

LEVER,L.H.

11

203-43-42673

LEVER,R.H.

11

203-43-42672

LEVER,R.H.

12

195-61-34130

BEARING

13

203-43-42721

SHAFT

14

203-43-42731

BRACKET

15

01010-51030

BOLT

16

01643-31032

WASHER

17

04050-13030

PIN,COTTER

18

20S-43-11230

COVER

19

203-43-41660

SPACER

20

09340-10130

SPRING

21

203-43-41541

COVER

22

01010-50820

BOLT

23

01602-20825

WASHER,SPRING

24

203-43-41511

ROD

25

04220-21040

YOKE,L.H. THREAD

26

01508-21006

NUT,L.H. THREAD

27

04205-11028

PIN

28

04050-13015

PIN,COTTER

29

04210-21040

YOKE

30

01582-11008

NUT

31

04205-11028

PIN

32

04050-13015

PIN,COTTER

33

203-43-42751

PLATE

33

203-43-42750

PLATE

34

01010-50830

BOLT

34

01010-51030

BOLT

35

01643-30823

WASHER

35

01643-31032

WASHER

36

203-43-42573

BRACKET

36

203-43-42572

BRACKET

37

01010-51030

BOLT

38

01602-21030

WASHER,SPRING

Выбрано товаров: 48