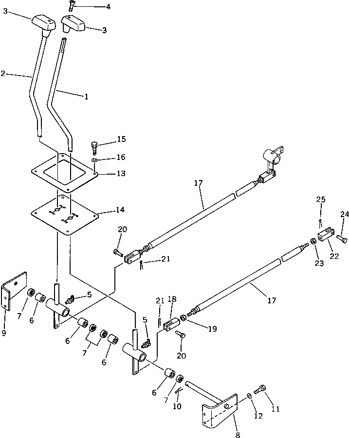
Запчасти Komatsu PC120-3 КОНТРОЛЬ ХОДА (ДЛЯ WRIST УПРАВЛ-Е) (БЕЗ АВТОМ. ЗАМЕДЛЕНИЕ ОБОРОТОВ) ПОВОРОТН. И СИСТЕМА УПРАВЛЕНИЯ

Схема запчастей Komatsu PC120-3 - КОНТРОЛЬ ХОДА (ДЛЯ WRIST УПРАВЛ-Е) (БЕЗ АВТОМ. ЗАМЕДЛЕНИЕ ОБОРОТОВ) ПОВОРОТН. И СИСТЕМА УПРАВЛЕНИЯ
FIT
1:1
100%

Артикул

Название

Примечание

Количество

1

203-43-43513

LEVER,L.H.

1

203-43-43512

LEVER,L.H.

1

203-43-43511

LEVER,L.H.

2

203-43-43523

LEVER,R.H.

2

203-43-43522

LEVER,R.H.

2

203-43-43521

LEVER,R.H.

3

203-43-41340

KNOB

4

01225-40625

SCREW

5

07020-00900

FITTING,GREASE

6

195-61-34130

BEARING

6

06120-02016

BEARING

7

06122-02004

SEAL,BEARING

8

203-43-42721

SHAFT

9

203-43-42731

BRACKET

10

04050-13030

PIN,COTTER

11

01010-51030

BOLT

12

01643-31032

WASHER

13

203-43-43530

PLATE

14

203-43-43540

COVER

15

01010-50820

BOLT

16

01602-20825

WASHER,SPRING

17

203-43-41511

ROD

18

04220-21040

YOKE,L.H. THREAD

19

01508-21006

NUT,L.H. THREAD

20

04205-11028

PIN

21

04050-13015

PIN,COTTER

22

04210-21040

YOKE

23

01582-11008

NUT

24

04205-11028

PIN

25

04050-13015

PIN,COTTER

Выбрано товаров: 30