Запчасти Komatsu PC120-3 MACHINERY ОБСТАНОВКА (/) ОСНОВНАЯ РАМА И КАБИНА

Схема запчастей Komatsu PC120-3 - MACHINERY ОБСТАНОВКА (/) ОСНОВНАЯ РАМА И КАБИНА
FIT
1:1
100%

Артикул

Название

Примечание

Количество

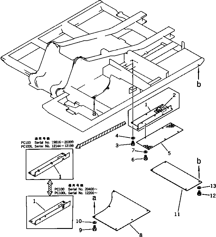
1

203-54-42134

COVER

1

203-54-42133

COVER

1

203-54-42132

COVER

1

09467-00001

HINGE (WELDED)

1

09467-00002

SPRING (WELDED)

2

203-54-42770

COVER

3

01010-51020

BOLT

3

01010-51020

BOLT

4

01643-31032

WASHER

4

01643-31032

WASHER

5

203-54-42211

COVER

6

01010-51020

BOLT

7

01643-31032

WASHER

8

203-54-42791

COVER

8

203-54-42790

COVER

8

203-978-4390

COVER,(FOR CAR COOLER)

9

01010-51020

BOLT

10

01643-31032

WASHER

11

203-54-42811

COVER

11

203-54-42810

COVER

12

01010-51020

BOLT

13

01643-31032

WASHER

Выбрано товаров: 0