/ / / / / / МЕХАНИЗМ УПРАВЛ-Я ПОДАЧЕЙ ТОПЛИВА (АВТОМ. ЗАМЕДЛЕНИЕ ОБОРОТОВ)(№8-99)
Запчасти Komatsu PC120-3 МЕХАНИЗМ УПРАВЛ-Я ПОДАЧЕЙ ТОПЛИВА (АВТОМ. ЗАМЕДЛЕНИЕ ОБОРОТОВ)(№8-99) КОМПОНЕНТЫ ДВИГАТЕЛЯ И ЭЛЕКТРИКА
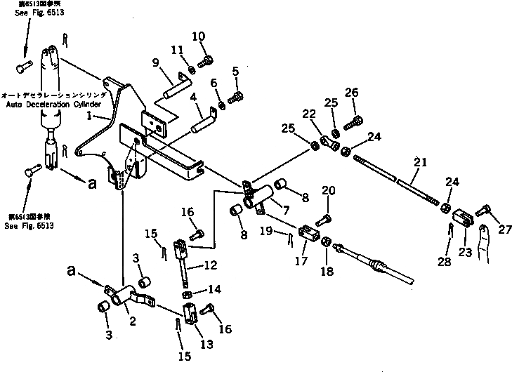
1
203-43-42870
BRACKET
2
203-43-42920
LEVER
3
09350-02220
BUSHING
4
203-43-42910
SHAFT
5
01010-50816
BOLT
6
01643-30823
WASHER
7
203-43-42890
LEVER
8
09350-02220
BUSHING
9
203-43-42910
SHAFT
10
01010-50816
BOLT
11
01643-30823
WASHER
12
04244-41011
ROD
13
04210-21040
YOKE
14
01582-11008
NUT
15
04050-13018
PIN,COTTER
16
04205-11028
PIN
17
144-947-2850
YOKE
18
01580-11008
NUT
19
04050-13018
PIN,COTTER
20
04205-11028
PIN
21
04245-51038
ROD
22
04250-81068
END,ROD
23
203-06-41350
YOKE
24
01582-11008
NUT
25
04254-01032
SPACER
26
01010-51035
BOLT
27
04205-10522
PIN
28
04050-11612
PIN,COTTER
Выбрано товаров: 0