Запчасти Komatsu PC120-3 МЕХ-М УПРАВЛ-Я (/) (ДОПОЛН. ГИДРАВЛ КОНТУР)(№8-99) ОПЦИОННЫЕ КОМПОНЕНТЫ

Схема запчастей Komatsu PC120-3 - МЕХ-М УПРАВЛ-Я (/) (ДОПОЛН. ГИДРАВЛ КОНТУР)(№8-99) ОПЦИОННЫЕ КОМПОНЕНТЫ
FIT
1:1
100%

Артикул

Название

Примечание

Количество

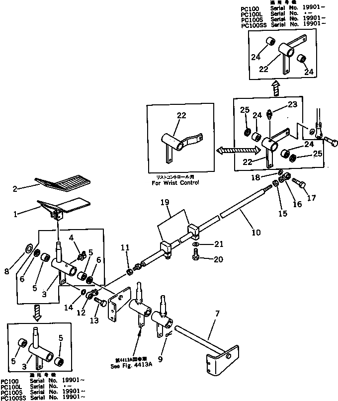
1

203-43-41712

PEDAL

|1

203-43-41711

PEDAL

2

203-43-41650

CAP

3

203-43-41583

LEVER

|3

203-43-41582

LEVER

|3

203-43-41581

LEVER

4

07020-00900

FITTING,GREASE

5

195-61-34130

BEARING

|5

06120-02016

BEARING,NEEDLE

6

06122-02004

SEAL,BEARING

7

203-43-43270

SHAFT

8

01643-32060

WASHER

9

04050-13030

PIN,COTTER

10

202-43-58160

ROD

11

01508-21006

NUT,L.H. THREAD

12

04250-61056

END,ROD¤ L.H. THREAD

13

01010-51030

BOLT

14

04254-01032

SPACER

15

01582-11008

NUT

16

04250-41056

END,ROD

17

01010-51030

BOLT

18

01643-31032

WASHER

|18

04254-01032

SPACER

19

203-43-42750

PLATE

20

01010-51030

BOLT

21

01643-31032

WASHER

22

203-43-41163

LEVER,(FOR LONG LEVER CONTROL)

|22

203-43-41162

LEVER,(FOR LONG LEVER CONTROL)

|22

203-43-43841

LEVER,(FOR WRIST CONTROL)

|22

203-43-43840

LEVER,(FOR WRIST CONTROL)

23

07020-00000

FITTING,GREASE

24

195-61-34130

BEARING

|24

06120-02016

BEARING,NEEDLE

25

06122-02004

SEAL,BEARING

Выбрано товаров: 34