Запчасти Komatsu PC120-3 MACHINERY ОБСТАНОВКА (/)(№8-879) ОСНОВНАЯ РАМА И КАБИНА

Схема запчастей Komatsu PC120-3 - MACHINERY ОБСТАНОВКА (/)(№8-879) ОСНОВНАЯ РАМА И КАБИНА
FIT
1:1
100%

Артикул

Название

Примечание

Количество

|1

203-54-00321

COVER ASS'Y

|1

203-54-00320

COVER ASS'Y

|1

203-54-00330

COVER ASS'Y,(FOR VANDALISM PROTECTION)

1

COVER

|1

COVER

|1

COVER,(FOR VANDALISM PROTECTION)

2

09467-00002

SPRING

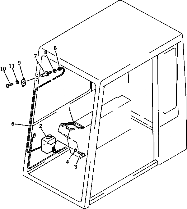
3

362-54-14880

HOLDER

4

01220-40410

SCREW

5

01580-10403

NUT

6

01601-20410

WASHER,SPRING

7

01010-51025

BOLT

8

01643-31032

WASHER

9

203-54-42821

COVER

|9

203-54-42820

COVER

|9

203-54-42880

COVER,(FOR VANDALISM PROTECTION)

10

01010-51020

BOLT

11

01643-31032

WASHER

12

203-54-42170

COVER

12A

203-54-42830

TRIM

13

203-54-42180

COVER

13A

203-54-42830

TRIM

14

01010-51020

BOLT

15

01643-31032

WASHER

16

203-54-42152

COVER

17

01010-51025

BOLT

18

01643-31032

WASHER

19

203-54-42840

TRIM

20

203-54-42780

PLATE

21

01010-51020

BOLT

22

01643-31032

WASHER

23

203-54-42363

COVER

|23

203-54-42362

COVER

24

203-54-42850

TRIM

25

01010-51020

BOLT

26

01643-31032

WASHER

27

203-54-42661

SPRING

28

203-54-42561

CABLE,(L=2700)

29

04211-20500

YOKE

30

04205-10514

PIN

31

04050-11210

PIN,COTTER

32

203-54-42290

BRACKET,L.H.

|32

203-54-42310

BRACKET,R.H.

33

01010-51020

BOLT

34

01643-31032

WASHER

35

203-54-42320

LEVER

36

203-54-42340

SPRING

37

20T-54-26310

BOLT

38

01580-11210

NUT

39

01643-31232

WASHER

40

203-54-42331

LEVER

41

205-60-71220

LOCK ASS'Y,(FOR VANDALISM PROTECTION)

Выбрано товаров: 52