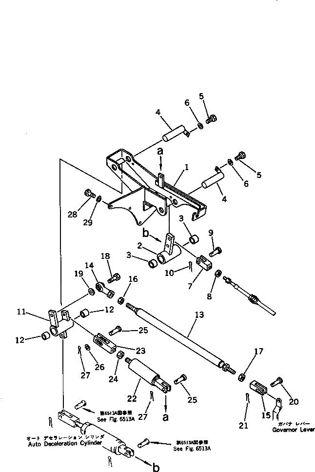
Запчасти Komatsu PC120-3 МЕХАНИЗМ УПРАВЛ-Я ПОДАЧЕЙ ТОПЛИВА (АВТОМ. ЗАМЕДЛЕНИЕ ОБОРОТОВ)(№-) КОМПОНЕНТЫ ДВИГАТЕЛЯ И ЭЛЕКТРИКА

Схема запчастей Komatsu PC120-3 - МЕХАНИЗМ УПРАВЛ-Я ПОДАЧЕЙ ТОПЛИВА (АВТОМ. ЗАМЕДЛЕНИЕ ОБОРОТОВ)(№-) КОМПОНЕНТЫ ДВИГАТЕЛЯ И ЭЛЕКТРИКА
FIT
1:1
100%

Артикул

Название

Примечание

Количество

1

203-43-44242

BRACKET

1

203-43-44241

BRACKET

2

203-43-44250

LEVER

3

09350-02220

BUSHING

4

203-43-42910

SHAFT

5

01010-50816

BOLT

6

01643-30823

WASHER

7

203-43-44280

YOKE

8

01580-10806

NUT

9

04205-11028

PIN

10

04050-13018

PIN,COTTER

11

203-43-44260

LEVER

12

09350-02220

BUSHING

13

203-43-44390

ROD

14

04250-61056

END,ROD

15

201-43-21370

YOKE

16

01508-21006

NUT,L.H. THREAD

17

01582-11008

NUT

18

01010-51030

BOLT

19

04254-01032

SPACER

20

04205-10622

PIN

21

04050-11612

PIN,COTTER

22

203-43-44220

SPRING ASS'Y

23

202-43-11355

YOKE

24

01582-11008

NUT

25

04205-11030

PIN

26

01641-21016

WASHER

27

04050-13020

PIN,COTTER

28

01010-51035

BOLT

29

01643-31032

WASHER

Выбрано товаров: 30