Запчасти Komatsu PC120-3 ГТР РЕГУЛИР. УПРАВЛЯЮЩ. КЛАПАН УПРАВЛ-Е РАБОЧИМ ОБОРУДОВАНИЕМ

Схема запчастей Komatsu PC120-3 - ГТР РЕГУЛИР. УПРАВЛЯЮЩ. КЛАПАН УПРАВЛ-Е РАБОЧИМ ОБОРУДОВАНИЕМ
FIT
1:1
100%

Артикул

Название

Примечание

Количество

|$0

708-23-01012

PUMP ASS'Y (HPV55+55)

|$1

708-23-01011

PUMP ASS'Y (HPV55+55)

|$2

708-23-01010

PUMP ASS'Y (HPV55+55)

|$3

708-23-10101

PUMP ASS'Y (HPV55+55)

|$5

708-23-07111

SERVO VALVE ASS'Y,FRONT

|$6

708-23-07110

SERVO VALVE ASS'Y,FRONT

|$7

708-23-15100

SERVO VALVE ASS'Y,FRONT

|$9

708-23-07710

VALVE ASS'Y

|$10

708-23-18100

VALVE ASS'Y

|$11

708-23-07051

BODY ASS'Y

|$12

708-23-07050

BODY ASS'Y

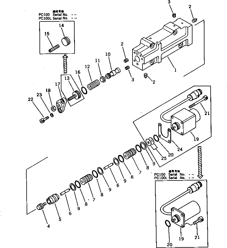
1

BODY

1

BODY

2

PLUG

3

EXPANDER

3

720-68-19740

PLUG

4

708-23-18120

PISTON

5

708-23-18130

SLEEVE

6

708-23-18120

PISTON

6

708-23-18140

PISTON

7

708-23-18150

SLEEVE

8

07000-12016

O-RING

9

07001-02016

RING,BACK-UP

10

708-23-18161

SPOOL

11

708-23-18170

SEAT

12

708-23-18181

SPRING

13

708-23-15140

PLUG

14

708-23-15160

PLUG

15

708-25-15340

SCREW

16

07000-02018

O-RING

17

708-23-18210

COVER

18

01580-10806

NUT

19

708-23-18221

SOLENOID ASS'Y

19

708-23-18220

SOLENOID ASS'Y

20

07000-02016

O-RING

21

708-23-18250

BOLT

21

720-68-19750

BOLT

22

708-25-15320

BOLT

22

01252-30616

BOLT

23

01602-20619

WASHER,SPRING

24

708-25-18571

SHIM, 0.50MM

24

708-25-18570

SHIM, 0.50MM

25

708-25-18580

SHIM, 0.50MM

Выбрано товаров: 43