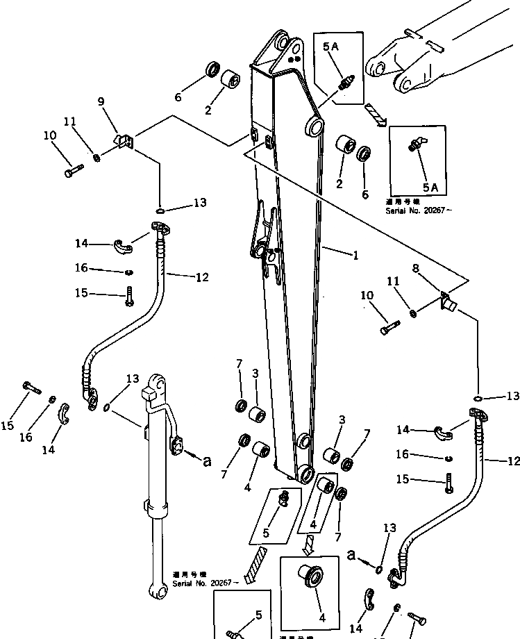
Запчасти Komatsu PC120-3 УДЛИНН. РУКОЯТЬ(№8-) РАБОЧЕЕ ОБОРУДОВАНИЕ

Схема запчастей Komatsu PC120-3 - УДЛИНН. РУКОЯТЬ(№8-) РАБОЧЕЕ ОБОРУДОВАНИЕ
FIT
1:1
100%

Артикул

Название

Примечание

Количество

|$0

203-943-0030

LONG ARM ASS'Y

|$1

203-943-0020

LONG ARM ASS'Y

1

ARM,LONG

1

ARM,LONG

2

203-70-32141

BUSHING

3

203-70-33150

BUSHING

4

203-70-42180

BUSHING

4

203-70-33181

BUSHING

5

07020-00000

FITTING,GREASE

5

07020-00900

FITTING,GREASE

5A

07020-00675

FITTING,GREASE

5A

07020-00900

FITTING,GREASE

6

07145-00070

SEAL,DUST

7

203-70-33210

SEAL,DUST

8

203-943-4130

BLOCK,L.H.

9

203-943-4140

BLOCK,R.H.

10

01010-51225

BOLT

11

01643-31232

WASHER

12

07098-20511

HOSE

13

07000-13022

O-RING

14

07371-30500

FLANGE,SPLIT

15

01010-50830

BOLT

16

01602-20825

WASHER,SPRING

Выбрано товаров: 0