Запчасти Komatsu PC120-3 КОНТРОЛЬ ХОДА (СПЕЦ-Я TBG)(№.-) СПЕЦ. APPLICATION ЧАСТИ¤ МАРКИРОВКА¤ ИНСТРУМЕНТ И РЕМКОМПЛЕКТЫ

Схема запчастей Komatsu PC120-3 - КОНТРОЛЬ ХОДА (СПЕЦ-Я TBG)(№.-) СПЕЦ. APPLICATION ЧАСТИ¤ МАРКИРОВКА¤ ИНСТРУМЕНТ И РЕМКОМПЛЕКТЫ
FIT
1:1
100%

Артикул

Название

Примечание

Количество

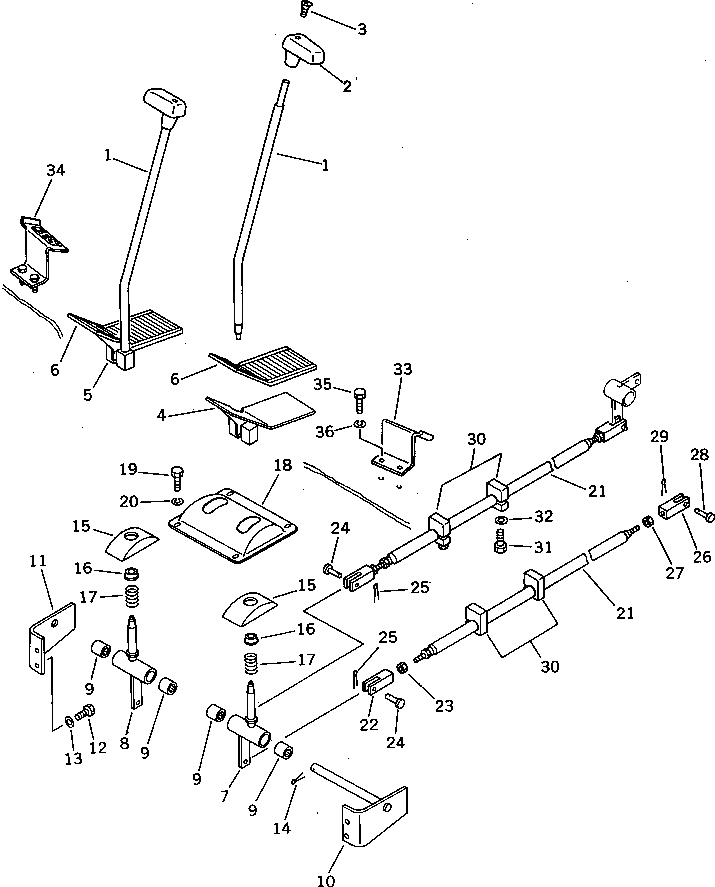
1

203-43-42274

LEVER

1

203-43-42273

LEVER

2

203-43-41340

KNOB

3

01225-40625

SCREW

4

203-43-41613

PEDAL,L.H.

4

203-43-41612

PEDAL,L.H.

5

203-43-41593

PEDAL,R.H.

5

203-43-41592

PEDAL,R.H.

6

205-43-71911

CAP,PEDAL

7

203-43-42375

LEVER,L.H.

7

203-43-42374

LEVER,L.H.

8

203-43-42673

LEVER,R.H.

8

203-43-42672

LEVER,R.H.

9

195-61-34130

BEARING

10

203-43-42721

SHAFT

11

203-43-42731

BRACKET

12

01010-51030

BOLT

13

01643-31032

WASHER

14

04050-13030

PIN,COTTER

15

20S-43-11230

COVER

16

203-43-41660

SPACER

17

09340-10130

SPRING

18

203-43-41541

COVER

19

01010-50820

BOLT

20

01602-20825

WASHER,SPRING

21

203-43-41511

ROD

22

04220-21040

YOKE,L.H. THREAD

23

01508-21006

NUT,L.H. THREAD

24

04205-11028

PIN

25

04050-13015

PIN,COTTER

26

04210-21040

YOKE

27

01582-11008

NUT

28

04205-11028

PIN

29

04050-13015

PIN,COTTER

30

203-43-42751

PLATE

30

203-43-42750

PLATE

31

01010-50830

BOLT

31

01010-51030

BOLT

32

01643-30823

WASHER

32

01643-31032

WASHER

33

203-43-43321

REST,FOOT, L.H.

33

203-43-43320

REST,FOOT, L.H.

34

203-43-43331

REST,FOOT, R.H.

34

203-43-43330

REST,FOOT, R.H.

35

01010-51030

BOLT

36

01602-21030

WASHER,SPRING

Выбрано товаров: 46