Запчасти Komatsu PC120-3 КАБИНА (7/7) (СПЕЦ-Я TBG) СПЕЦ. APPLICATION ЧАСТИ¤ МАРКИРОВКА¤ ИНСТРУМЕНТ И РЕМКОМПЛЕКТЫ

Схема запчастей Komatsu PC120-3 - КАБИНА (7/7) (СПЕЦ-Я TBG) СПЕЦ. APPLICATION ЧАСТИ¤ МАРКИРОВКА¤ ИНСТРУМЕНТ И РЕМКОМПЛЕКТЫ
FIT
1:1
100%

Артикул

Название

Примечание

Количество

|$0

203-54-00363

OPERATOR'S CAB ASS'Y

|$1

203-54-00362

OPERATOR'S CAB ASS'Y

|$2

203-54-00361

OPERATOR'S CAB ASS'Y

|$3

203-54-00360

OPERATOR'S CAB ASS'Y

|$5

203-54-00412

DOOR ASS'Y

|$6

203-54-00411

DOOR ASS'Y

|$7

203-54-00410

DOOR ASS'Y

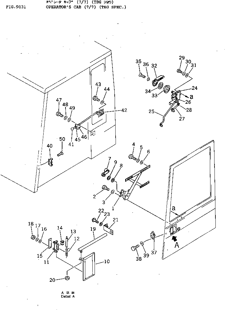
1

205-54-71631

REGULATOR ASS'Y

2

01010-50610

BOLT

3

01643-30623

WASHER

4

01220-40608

SCREW

5

01602-20619

WASHER,SPRING

6

01641-20608

WASHER

7

203-54-43310

HANDLE

8

203-54-43330

ESCUTCHEON

9

203-54-43740

SEAL,WATER

|$18

205-54-72101

HANDLE ASS'Y

10

205-54-72111

HANDLE

11

205-54-72121

BRACKET

12

205-54-72130

SPRING

13

205-54-72140

PIN

14

205-54-72150

CUSHION

15

205-54-72160

PACKING

16

01641-20608

WASHER

17

01602-20619

WASHER,SPRING

18

01580-10605

NUT

19

203-54-43370

ROD

20

203-54-43380

SNAP

21

203-54-43730

GUIDE

22

01220-40616

SCREW

23

01643-30623

WASHER

|$33

205-54-71802

CONTROL ASS'Y

24

205-54-71811

CONTROL ASS'Y

25

205-54-71822

ROD

26

205-54-71830

SNAP

27

205-54-71721

ROD

28

205-54-71840

SNAP

29

01220-40610

SCREW

30

01602-20619

WASHER,SPRING

31

01641-20608

WASHER

32

203-54-43320

HANDLE

33

566-54-24260

BASE

34

203-54-43330

ESCUTCHEON

35

01225-40510

SCREW

36

205-54-71880

WASHER,LOCK

37

205-54-71710

LOCK ASS'Y

38

01010-50616

BOLT

39

01643-30623

WASHER

40

205-54-71731

STRIKER

41

205-54-72840

KNOB

42

20G-54-12110

LOCK ASS'Y

43

01010-50620

BOLT

44

01643-30623

WASHER

45

205-54-72830

GROMMET

46

20G-54-12120

BRACKET

47

01220-40620

SCREW

48

01602-20619

WASHER,SPRING

49

01641-20608

WASHER

50

203-54-43590

SCREW

Выбрано товаров: 59