Запчасти Komatsu PC120-3 КАБИНА¤ ОСНОВН. КОНСТРУКЦИЯ (REGULATION OF SWEDEN)(№-) СПЕЦ. APPLICATION ЧАСТИ¤ МАРКИРОВКА¤ ИНСТРУМЕНТ И РЕМКОМПЛЕКТЫ

Схема запчастей Komatsu PC120-3 - КАБИНА¤ ОСНОВН. КОНСТРУКЦИЯ (REGULATION OF SWEDEN)(№-) СПЕЦ. APPLICATION ЧАСТИ¤ МАРКИРОВКА¤ ИНСТРУМЕНТ И РЕМКОМПЛЕКТЫ
FIT
1:1
100%

Артикул

Название

Примечание

Количество

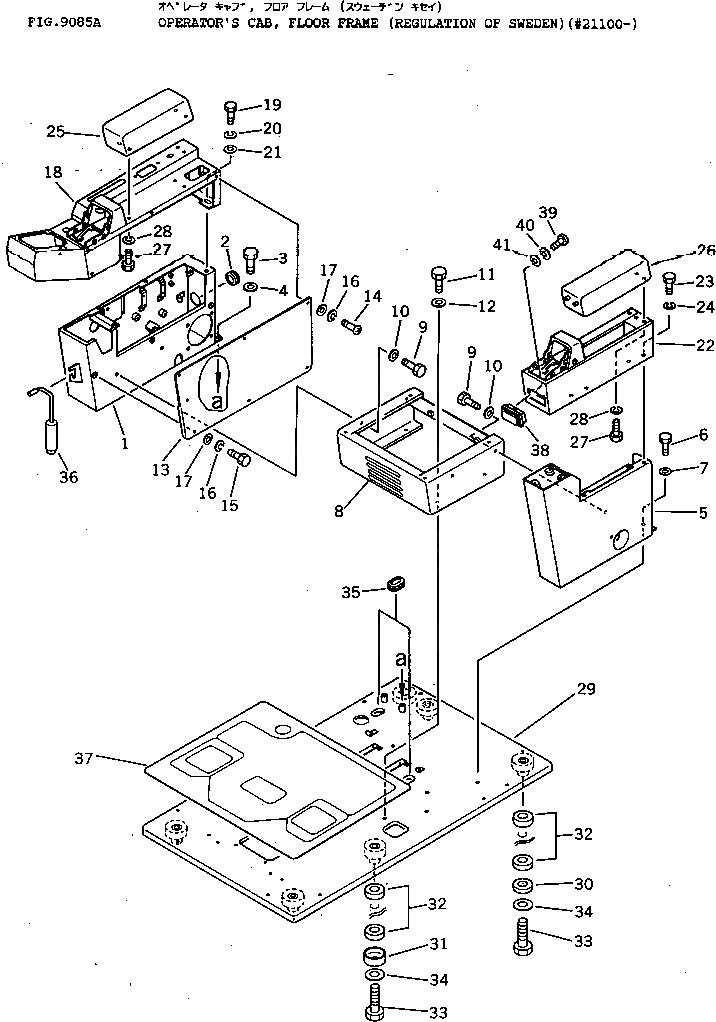
1

203-54-41621

BOX,R.H.

2

120-06-24110

GROMMET

3

01010-51025

BOLT

4

01643-31032

WASHER

5

203-54-41630

BOX,L.H.

6

01010-51025

BOLT

7

01643-31032

WASHER

8

203-54-41113

BRACKET

9

01010-51230

BOLT

10

01643-31232

WASHER

11

01010-51025

BOLT

12

01643-31032

WASHER

13

203-54-41193

COVER

14

01220-40612

SCREW

15

01010-50612

BOLT

16

01602-20619

WASHER,SPRING

17

01640-20610

WASHER

18

203-54-41562

BOX,R.H.

19

01010-50820

BOLT

20

01602-20825

WASHER,SPRING

21

01643-30823

WASHER

22

203-54-41134

BOX,L.H.

23

01010-50820

BOLT

24

01602-20825

WASHER,SPRING

25

203-54-41172

CUSHION,R.H.

26

203-54-41182

CUSHION,L.H.

27

01010-50820

BOLT

28

01602-20825

WASHER,SPRING

29

203-54-41580

FRAME,FLOOR

30

201-54-21860

COLLAR

31

205-54-51950

PLATE

32

203-54-21110

CUSHION

33

01010-51675

BOLT

34

01643-31645

WASHER

35

176-911-4160

GROMMET

36

203-54-41412

PIN

37

203-54-41590

MAT,FLOOR

38

205-54-72240

ASHTRAY

39

01220-40410

SCREW

40

01601-20410

WASHER,SPRING

41

01642-20405

WASHER

Выбрано товаров: 41