Запчасти Komatsu PC120-3 MACHINERY ОБСТАНОВКА (/)(№-) СПЕЦ. APPLICATION ЧАСТИ¤ МАРКИРОВКА¤ ИНСТРУМЕНТ И РЕМКОМПЛЕКТЫ

Схема запчастей Komatsu PC120-3 - MACHINERY ОБСТАНОВКА (/)(№-) СПЕЦ. APPLICATION ЧАСТИ¤ МАРКИРОВКА¤ ИНСТРУМЕНТ И РЕМКОМПЛЕКТЫ
FIT
1:1
100%

Артикул

Название

Примечание

Количество

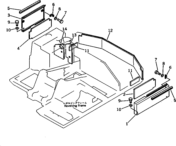
1

203-54-44531

COVER

2

203-54-44540

SHEET

3

203-54-44551

COVER

4

203-54-44560

SHEET

5

203-54-42830

TRIM

6

203-54-42780

PLATE

7

01010-51025

BOLT

8

01643-31032

WASHER

9

01010-51020

BOLT

10

01643-31032

WASHER

11

203-54-44850

SHEET

12

203-54-44570

SHEET

13

203-54-44581

SHEET

14

203-54-44591

SHEET

Выбрано товаров: 0