Качественные детали и логистика
Оригинальные и аналоговые запчасти с доставкой по России, Казахстану и Беларуси
©2022 PartSell ООО "Система" ИНН 2463123282 ОГРН 1212400004838
Центральный офис: г. Красноярск, Академика Киренского, д.87, пом.4
Телефон: 8 (800) 777-65-74 Email: zakaz@partsell.ru
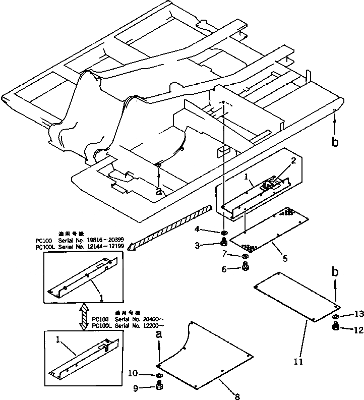
ГУСЕНИЧНАЯ РАМА
№
Артикул
Название
Примечание
Количество
1
203-30-41114
FRAME,TRACK
203-30-41112
203-30-41124
GUARD,FRONT (WELDED)
1A
203-30-41122
203-30-36280
SEAT,(FOR CENTER GUARD) (WELDED)
2
203-30-41141
COVER
3
203-30-41150
SEAL
4
01010-51225
BOLT
5
01643-31232
WASHER
6
205-30-67650
7
8
9
203-30-41320
GUARD,CENTER
10
01010-51640
11
01643-31645
Выбрано товаров: 0