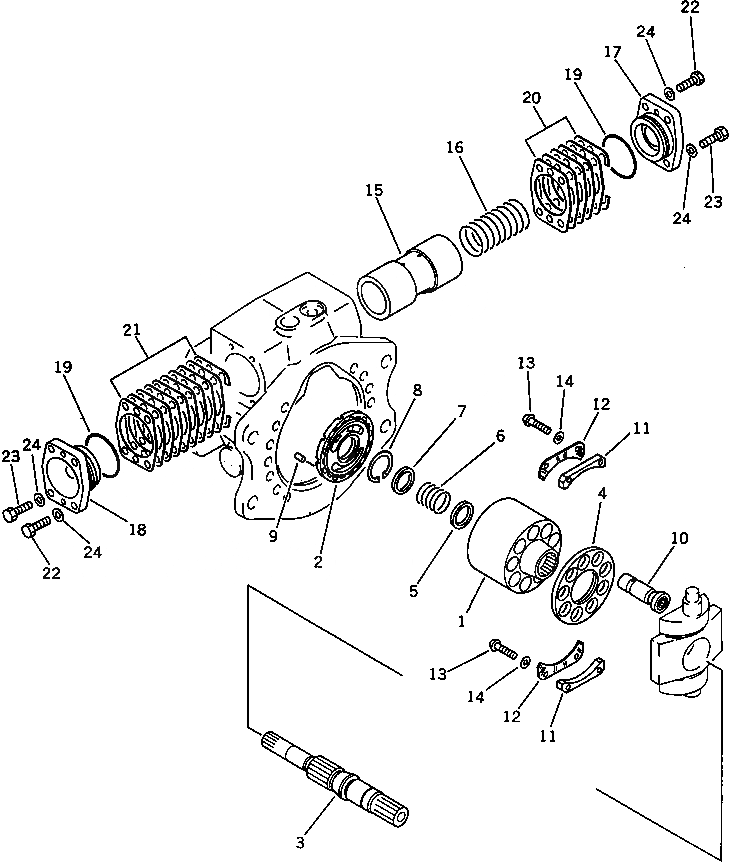
Запчасти Komatsu PC120-3 МОТОР ПОВОРОТА (БЕЗ ПОВОРОТН. МЕХАНИЧ. ТОРМОЗ.) ПОВОРОТН. И СИСТЕМА УПРАВЛЕНИЯ

Схема запчастей Komatsu PC120-3 - МОТОР ПОВОРОТА (БЕЗ ПОВОРОТН. МЕХАНИЧ. ТОРМОЗ.) ПОВОРОТН. И СИСТЕМА УПРАВЛЕНИЯ
FIT
1:1
100%

Артикул

Название

Примечание

Количество

|$0

706-73-10500

SWING MOTOR ASS'Y

1

BOLT

2

WASHER,SPRING

3

O-RING

4

CASE,BRAKE

5

BEARING

6

PLATE,VALVE

7

PIN,DOWEL

8

SHAFT,CENTER

9

BLOCK,CYLINDER

10

SPRING

11

RING,CENTER

12

PISTON ASS'Y

13

BALL,CENTER

14

HOLDER

15

RETAINER

16

SCREW

17

SHAFT,DRIVE

18

BEARING

19

RING

20

O-RING

21

WASHER,LOCK

22

NUT

23

706-75-90180

SEAL,OIL

24

04065-08225

RING,SNAP

25

BEARING

26

HOUSING

27

706-73-72420

VALVE

28

706-73-72440

SPRING

29

706-73-72430

PLUG

30

07002-12034

O-RING

31

07040-12012

PLUG

32

07002-12434

O-RING

|$33

706-73-85301

VALVE ASS'Y

33

VALVE

34

VALVE

35

SPRING

36

SEAT,VALVE

37

PISTON

38

NUT

39

SCREW

40

07001-02016

RING,BACK-UP

41

07000-11009

O-RING

42

07001-01009

RING,BACK-UP

43

07002-12434

O-RING

44

07000-22016

O-RING

45

07040-11409

PLUG

46

07002-01423

O-RING

Выбрано товаров: 0