Запчасти Komatsu PC120-5 ГИДРОЛИНИЯ (ГЛАВН. КОНТУР) УПРАВЛ-Е РАБОЧИМ ОБОРУДОВАНИЕМ

Схема запчастей Komatsu PC120-5 - ГИДРОЛИНИЯ (ГЛАВН. КОНТУР) УПРАВЛ-Е РАБОЧИМ ОБОРУДОВАНИЕМ
FIT
1:1
100%

Артикул

Название

Примечание

Количество

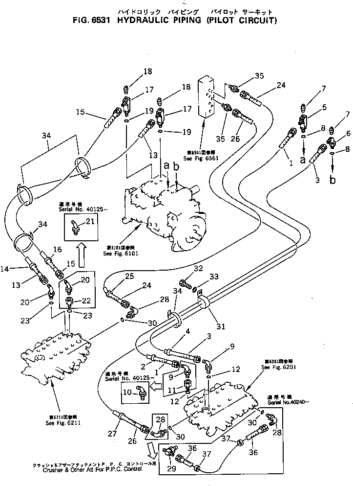
1

203-62-52380

HOSE, 1500MM

1

07102-20215

HOSE

2

203-62-58110

MARK, 11

3

203-62-52360

HOSE

3

07102-20216

HOSE

4

203-62-57990

MARK, 10

5

203-62-58270

ELBOW

6

07235-50210

ELBOW

7

07042-30108

PLUG

8

07002-01423

O-RING

9

07235-10210

ELBOW

9

07235-10210

ELBOW

10

203-62-57170

ELBOW

11

20G-62-15760

NIPPLE

12

07002-01423

O-RING

13

203-62-52330

HOSE, 600MM

13

07102-20206

HOSE

14

203-62-58120

MARK, 12

15

203-62-52330

HOSE, 600MM

15

07102-20206

HOSE

16

203-62-58130

MARK, 13

17

203-62-58270

ELBOW

18

07042-30108

PLUG

19

07002-01423

O-RING

20

07235-10210

ELBOW

20

07235-10210

ELBOW

21

203-62-57170

ELBOW

22

20G-62-15760

NIPPLE

23

07002-01423

O-RING

24

203-62-52330

HOSE, 600MM

24

07102-20206

HOSE

25

203-62-58210

MARK, T1

26

203-62-52260

HOSE, 1300MM

26

07102-20213

HOSE

27

203-62-58220

MARK, T2

28

07235-10210

ELBOW

29

208-26-11611

TEE,(CRUSHER,OTHER ATT.FOR PPC CON

30

07002-01423

O-RING

31

08036-03014

CLIP,(CRUSHER,OTHER ATT.FOR PPC CON

31

08036-03014

CLIP

31

21T-06-11950

CLIP

32

01010-51025

BOLT

33

01643-31032

WASHER

34

08034-00414

BAND

35

07238-10210

CONNECTOR

36

203-62-52410

HOSE, 500MM,(CRUSHER,OTHER ATT.FOR PPC CON

37

20T-62-71770

MARK, 7,(CRUSHER,OTHER ATT.FOR PPC CON

Выбрано товаров: 47