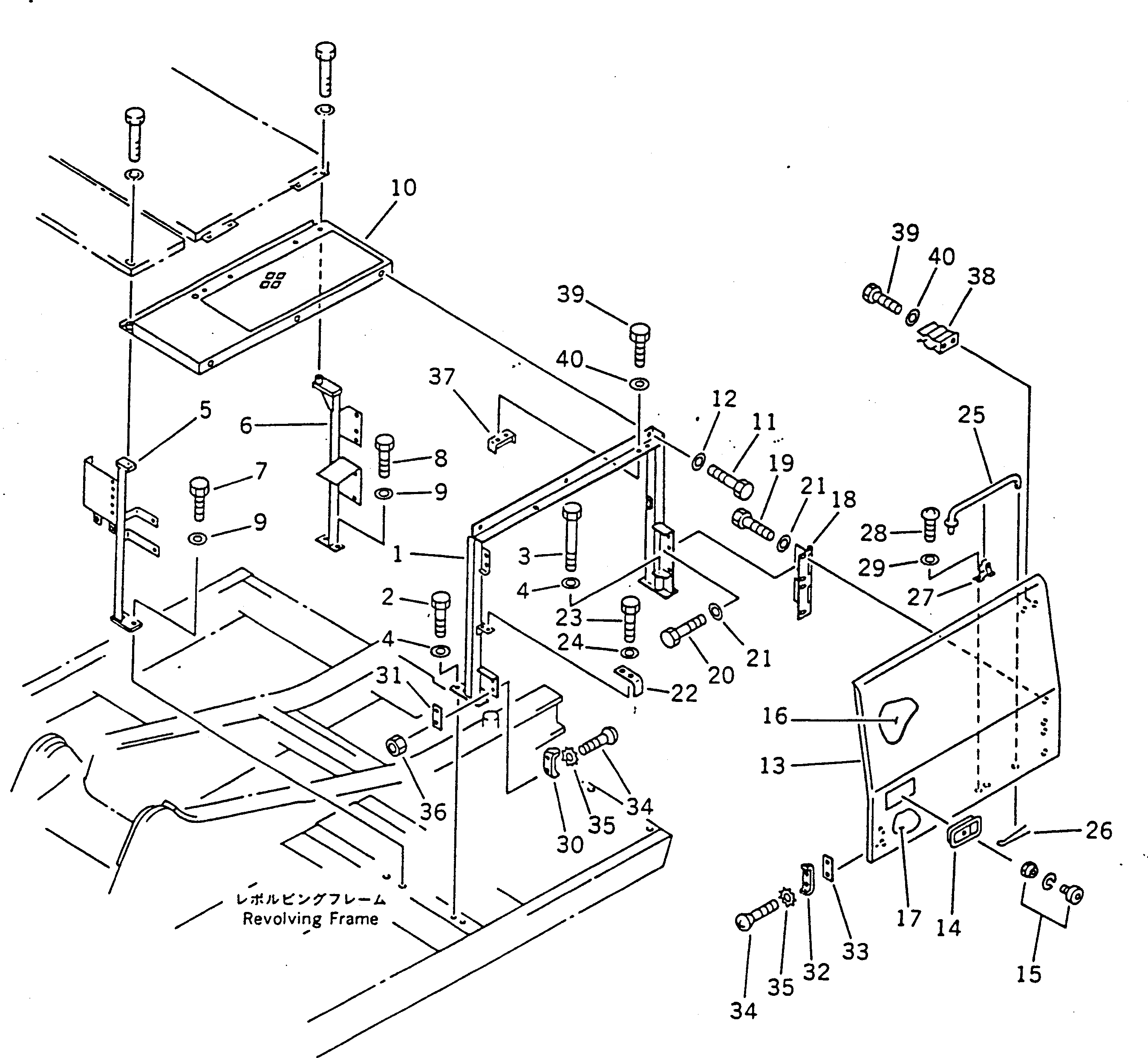
Запчасти Komatsu PC120-5 ЛЕВ. КРЫШКА(ДЛЯ WRIST УПРАВЛ-Е)(№-) ЧАСТИ КОРПУСА

Схема запчастей Komatsu PC120-5 - ЛЕВ. КРЫШКА(ДЛЯ WRIST УПРАВЛ-Е)(№-) ЧАСТИ КОРПУСА
FIT
1:1
100%

Артикул

Название

Примечание

Количество

1

203-54-56980

BRACKET

2

01010-51030

BOLT

3

01011-51030

BOLT

4

01643-31032

WASHER

5

203-54-52174

BRACKET

6

203-54-56990

BRACKET

7

01010-51025

BOLT

8

01010-51030

BOLT

9

01643-31032

WASHER

10

203-54-52372

COVER

11

01010-51025

BOLT

12

01643-31032

WASHER

13

203-54-52520

COVER ASS'Y

14

421-54-11372

LOCK ASS'Y (WELDED)

15

421-54-11381

LOCK

16

203-54-52491

SHEET

17

203-54-52510

SHEET

18

203-54-52411

HINGE

19

01010-51225

BOLT

20

01010-51230

BOLT

21

01643-31232

WASHER

22

203-54-52620

PLATE

23

01010-51025

BOLT

24

01643-31032

WASHER

25

203-54-52631

BAR

26

04050-13018

PIN,COTTER

27

20B-54-12210

SPRING

28

01220-40406

SCREW

29

01641-20405

WASHER

30

566-54-13410

STRIKER

31

203-54-56790

PLATE

32

566-54-14420

STOPPER

33

203-54-52610

PLATE

34

01225-40820

SCREW

35

566-54-13570

WASHER

36

01580-00806

NUT

37

203-54-56810

BRACKET

38

203-54-56820

CLAMP

39

01010-51025

BOLT

40

01643-31032

WASHER

Выбрано товаров: 0