Качественные детали и логистика
Оригинальные и аналоговые запчасти с доставкой по России, Казахстану и Беларуси
©2022 PartSell ООО "Система" ИНН 2463123282 ОГРН 1212400004838
Центральный офис: г. Красноярск, Академика Киренского, д.87, пом.4
Телефон: 8 (800) 777-65-74 Email: zakaz@partsell.ru
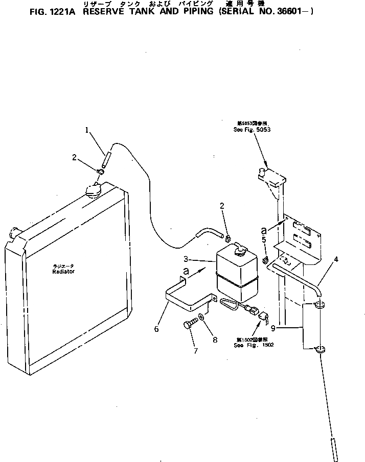
РЕЗЕРВН. БАК И ТРУБЫ(№-)
№
Артикул
Название
Примечание
Количество
1
203-03-56280
HOSE
2
206-03-43340
CLIP
3
20Y-06-15240
TANK ASS'Y,RESERVE (FOR RADIATOR)
205-03-71532
CAP
4
07270-00895
TUBE
5
07285-00095
6
203-03-56650
BRACKET
7
01010-50816
BOLT
8
01643-30823
WASHER
9
08034-00823
BAND
Выбрано товаров: 0