Запчасти Komatsu PC120-5 РЕЗЕРВН. БАК И ТРУБЫ(№-) КОМПОНЕНТЫ ДВИГАТЕЛЯ И ЭЛЕКТРИКА

Схема запчастей Komatsu PC120-5 - РЕЗЕРВН. БАК И ТРУБЫ(№-) КОМПОНЕНТЫ ДВИГАТЕЛЯ И ЭЛЕКТРИКА
FIT
1:1
100%

Артикул

Название

Примечание

Количество

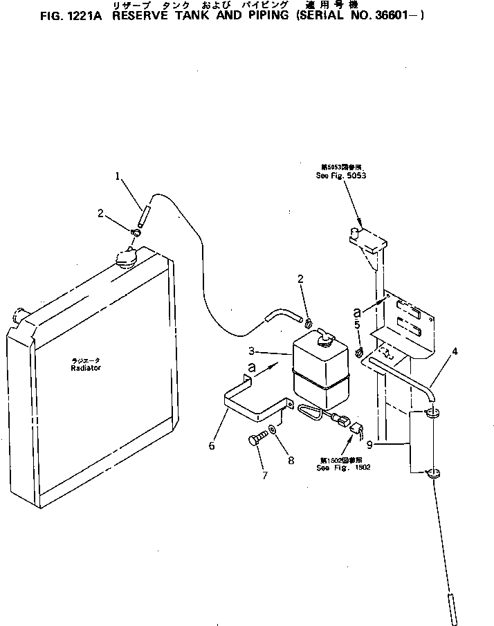
1

203-03-56280

HOSE

2

206-03-43340

CLIP

3

20Y-06-15240

TANK ASS'Y,RESERVE (FOR RADIATOR)

|3

205-03-71532

CAP

4

07270-00895

TUBE

5

07285-00095

CLIP

6

203-03-56650

BRACKET

7

01010-50816

BOLT

8

01643-30823

WASHER

9

08034-00823

BAND

Выбрано товаров: 10