Запчасти Komatsu PC120-5 ОСНОВНАЯ РАМА (ПОЛН. НИЖН. КРЫШКА)(№-) ЧАСТИ КОРПУСА

Схема запчастей Komatsu PC120-5 - ОСНОВНАЯ РАМА (ПОЛН. НИЖН. КРЫШКА)(№-) ЧАСТИ КОРПУСА
FIT
1:1
100%

Артикул

Название

Примечание

Количество

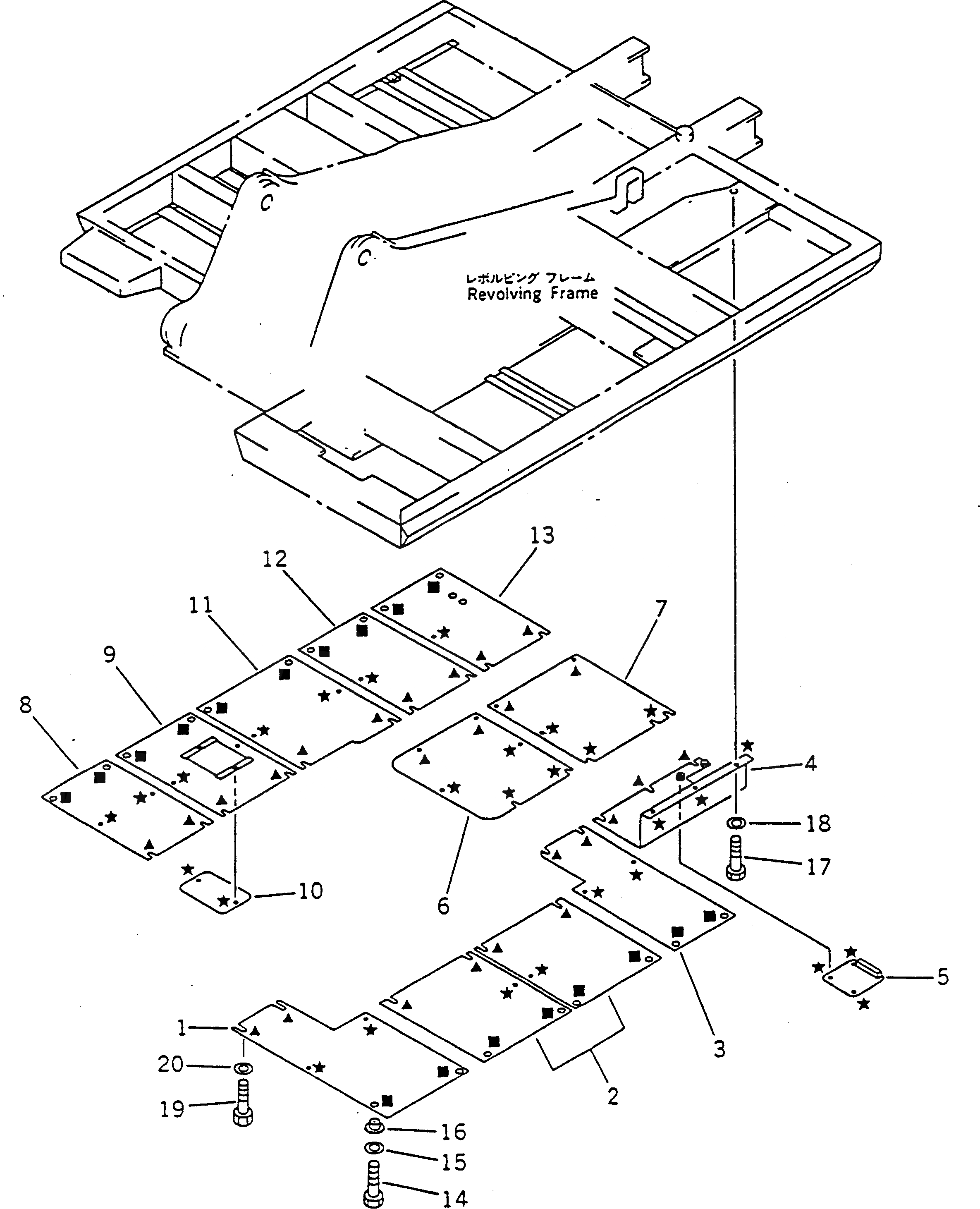
1

203-54-55510

COVER

2

203-54-55520

COVER

3

203-54-55530

COVER

4

203-54-55261

COVER

5

203-54-55670

COVER

6

203-54-55241

COVER

7

203-54-55250

COVER

8

203-54-55541

COVER

9

203-54-55551

COVER

10

203-54-55560

COVER

11

203-54-55860

COVER

12

203-54-55231

COVER

13

203-54-55811

COVER

14

01010-51030

BOLT

15

01643-31032

WASHER

16

203-54-55660

COLLAR

17

01010-51030

BOLT

18

01643-31032

WASHER

19

01010-51030

BOLT

20

203-54-56970

WASHER

Выбрано товаров: 0