Запчасти Komatsu PC120-5 КОРПУС ПАНЕЛИ ПРИБОРОВ (ДЛЯ УДЛИНН. РЫЧАГ УПРАВЛ-Е)(№-) ЧАСТИ КОРПУСА

Схема запчастей Komatsu PC120-5 - КОРПУС ПАНЕЛИ ПРИБОРОВ (ДЛЯ УДЛИНН. РЫЧАГ УПРАВЛ-Е)(№-) ЧАСТИ КОРПУСА
FIT
1:1
100%

Артикул

Название

Примечание

Количество

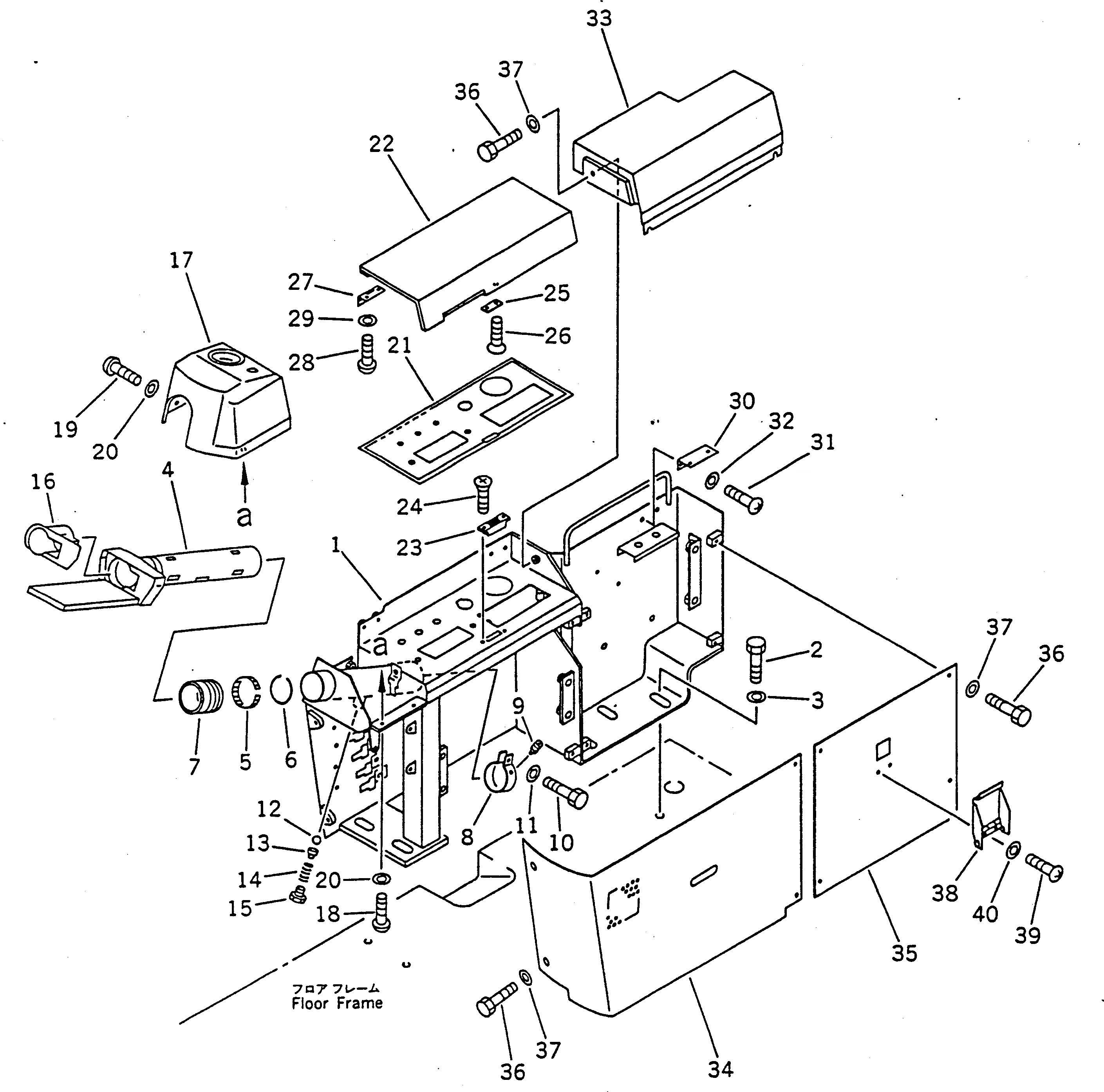
1

203-54-57320

BRACKET

2

01010-51230

BOLT

3

01643-31232

WASHER

4

203-06-52210

BRACKET

5

20Y-06-16160

SPRING

6

20Y-06-16550

RING¤ 1.8MM

|6

20Y-06-16530

RING¤ 2.0MM

|6

20Y-06-16440

RING¤ 2.3MM

7

20Y-06-15540

BOOT

8

20Y-06-16131

BAND

9

20Y-06-16460

SCREW

10

01010-50820

BOLT

11

01643-30823

WASHER

12

04260-00793

BALL

13

20Y-06-16150

SUPPORT

14

20Y-06-16450

SPRING

15

07040-11007

PLUG

16

20Y-06-16470

GROMMET

17

203-54-56521

COVER

18

01220-40616

SCREW

19

01220-40612

SCREW

20

01642-20608

WASHER

21

203-00-56560

PLATE

22

203-54-56531

COVER

23

203-54-51540

MAGNET

24

01224-40306

SCREW

25

203-54-51550

PLATE

26

01224-40306

SCREW

27

20Y-06-16350

HINGE

28

01220-70510

SCREW

29

01642-40508

WASHER

30

203-54-56580

COVER

31

01220-40616

SCREW

32

01642-20608

WASHER

33

203-54-56541

COVER

34

203-54-57750

COVER

35

203-54-56561

COVER

36

01010-50616

BOLT

37

01643-30623

WASHER

38

20Y-43-16250

COVER

39

01220-70408

SCREW

40

01642-40405

WASHER

Выбрано товаров: 0