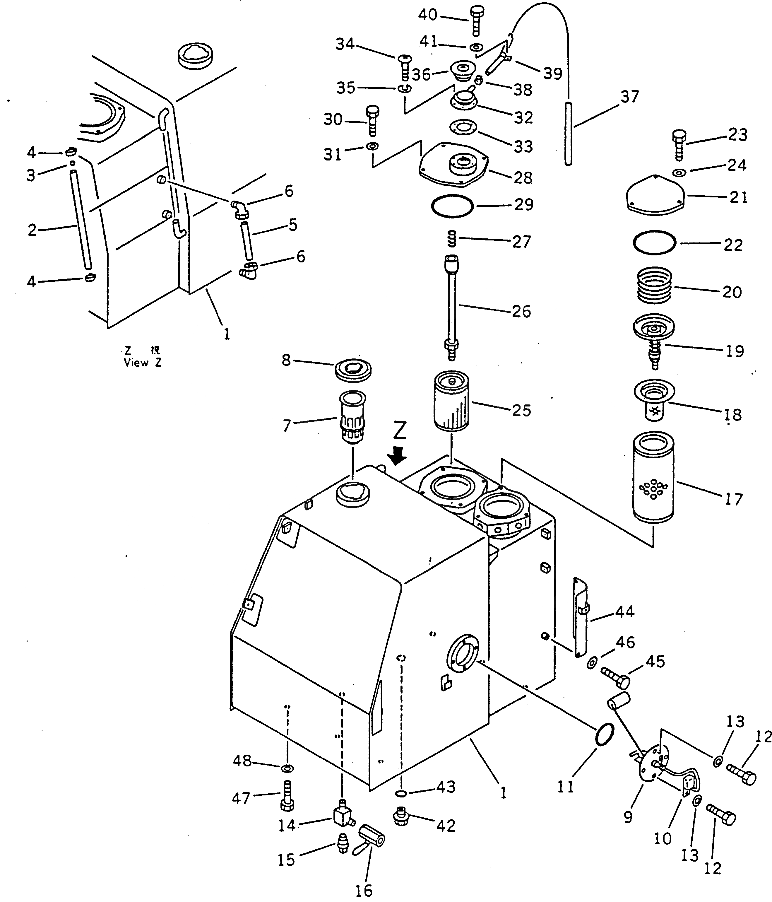
Запчасти Komatsu PC120-5 ТОПЛИВН. И ГИДР. БАК.(№-) УПРАВЛ-Е РАБОЧИМ ОБОРУДОВАНИЕМ

Схема запчастей Komatsu PC120-5 - ТОПЛИВН. И ГИДР. БАК.(№-) УПРАВЛ-Е РАБОЧИМ ОБОРУДОВАНИЕМ
FIT
1:1
100%

Артикул

Название

Примечание

Количество

|1

203-60-00411

HYDRAULIC TANK ASS'Y

1

TANK

2

203-60-52140

TUBE

3

201-04-21160

BALL,FLOAT

4

07281-00197

CLAMP

5

203-60-31160

TUBE

6

203-60-31100

ELBOW ASS'Y

7

07056-18416

STRAINER

8

20Y-04-11160

CAP

|8

20Y-04-11240

PACKING

9

7861-92-4800

SENSOR,FUEL LEVEL (SEE FIG.1502)

10

08053-01512

CLIP

11

07000-02085

O-RING

12

01010-51016

BOLT

13

01643-31032

WASHER

14

203-60-52240

ELBOW

15

07042-30108

PLUG

16

07700-40240

VALVE

17

07063-01100

ELEMENT

18

203-60-52260

STRAINER

19

203-60-52250

VALVE ASS'Y

20

175-60-27340

SPRING

21

203-60-52230

PLATE

22

07000-05155

O-RING

23

01010-51025

BOLT

24

01643-31032

WASHER

25

203-60-56250

STRAINER

26

21K-60-33120

ROD

27

12R-60-11230

SPRING

28

21K-60-33130

COVER

29

07000-05180

O-RING

30

01010-51025

BOLT

31

01643-31032

WASHER

32

201-60-12171

FILLER NECK

33

205-60-51460

GASKET

34

01220-40516

SCREW

35

01601-20513

WASHER,SPRING

36

201-60-12190

CAP ASS'Y

37

07270-00895

TUBE

38

07280-01110

CLAMP

39

08036-03014

CLIP

40

01010-51020

BOLT

41

01643-31032

WASHER

42

07044-12412

PLUG

43

07002-02434

O-RING

44

203-60-56240

BRACKET

45

01010-51020

BOLT

46

01643-31032

WASHER

47

01010-51440

BOLT

48

01643-31445

WASHER

Выбрано товаров: 0