Запчасти Komatsu PC120-5 ГИДРАВЛ УПРАВЛЯЮЩ. КЛАПАН¤ ПРАВ. (/) (С СЕРВИСНЫМ КЛАПАНОМ)(№-) УПРАВЛ-Е РАБОЧИМ ОБОРУДОВАНИЕМ

Схема запчастей Komatsu PC120-5 - ГИДРАВЛ УПРАВЛЯЮЩ. КЛАПАН¤ ПРАВ. (/) (С СЕРВИСНЫМ КЛАПАНОМ)(№-) УПРАВЛ-Е РАБОЧИМ ОБОРУДОВАНИЕМ
FIT
1:1
100%

Артикул

Название

Примечание

Количество

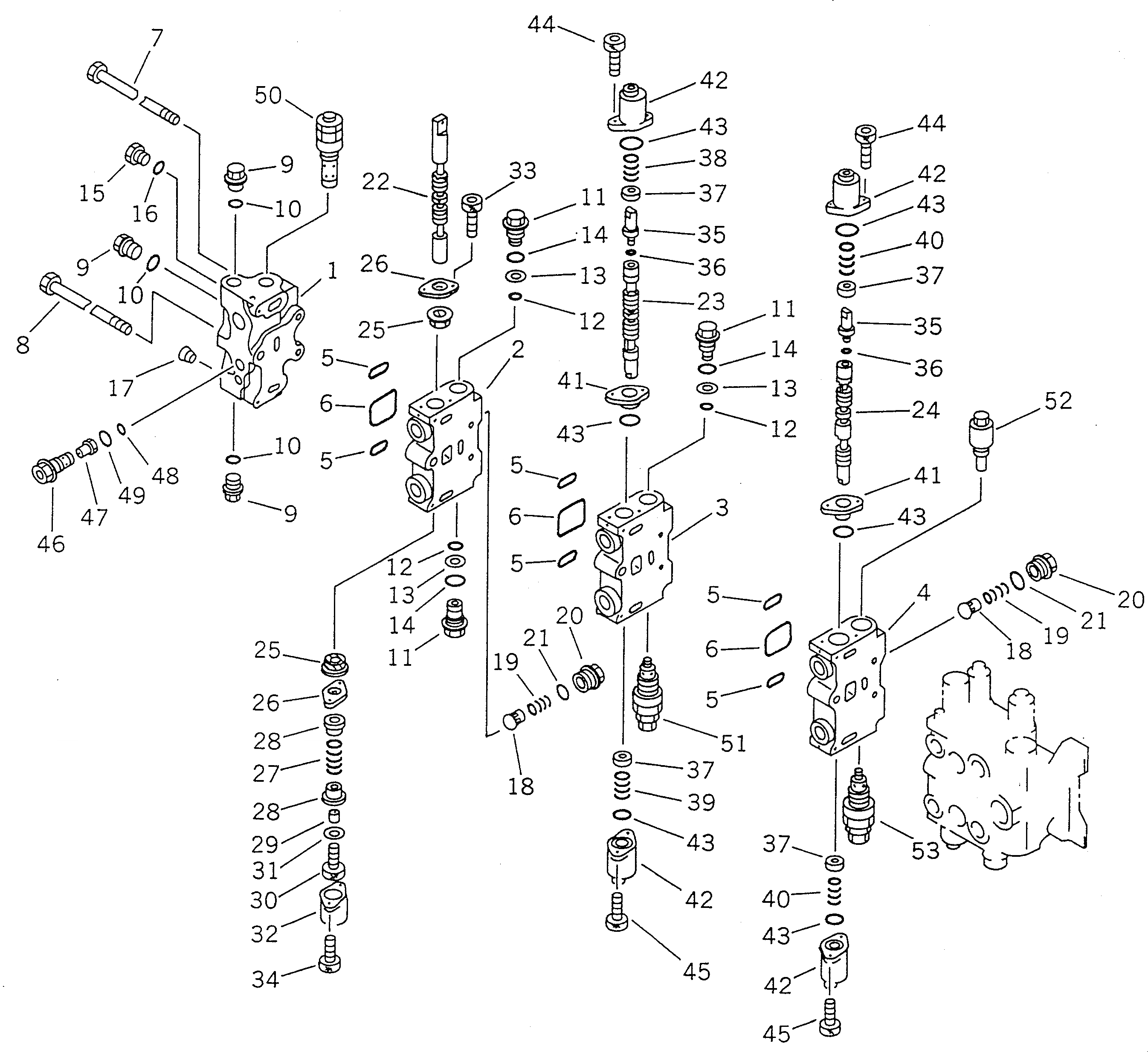
|1

700-86-36001

VALVE ASS'Y,R.H.

1

COVER,VALVE

2

BLOCK,VALVE

3

BLOCK,VALVE

4

BLOCK,VALVE

5

07000-03038

O-RING

6

07000-13050

O-RING

7

700-87-11110

BOLT

8

700-87-11120

BOLT

9

709-74-91860

PLUG

10

07002-12434

O-RING

11

700-84-13960

PLUG

12

700-22-11410

O-RING

13

700-80-64220

RING,BACK-UP

14

07002-03034

O-RING

15

07040-11409

PLUG

16

07002-01423

O-RING

17

07043-70108

PLUG

18

700-42-31460

VALVE

19

700-42-31470

SPRING

20

700-84-11320

PLUG

21

07002-13034

O-RING

22

SPOOL,SERVICE

23

SPOOL,ARM HIGH

24

SPOOL,BOOM LOW

25

700-84-13910

SEAL

26

700-84-13891

PLATE

27

700-84-11650

SPRING

28

700-84-13711

RETAINER

29

700-84-11641

COLLAR

30

01252-30830

BOLT

31

01643-30823

WASHER

32

700-84-11390

COVER

33

01252-30612

BOLT

34

01252-30625

BOLT

35

700-84-13790

JOINT

36

07002-11223

O-RING

37

700-84-13781

RETAINER

38

700-84-15730

SPRING

39

700-84-15720

SPRING

40

700-84-15740

SPRING

41

700-84-13490

PLATE

42

700-84-12510

CASE

43

700-84-11240

O-RING

44

01252-30625

BOLT

45

01252-30616

BOLT

|46

709-70-91300

ORIFICE ASS'Y

46

ORIFICE

47

SENSOR

48

07000-02014

O-RING

49

07002-02434

O-RING

50

709-70-55300

VALVE ASS'Y,RELIEF

51

709-70-71500

VALVE ASS'Y,SUCTION AND SAFETY

52

700-81-82001

VALVE ASS'Y,SUCTION

53

709-70-71404

VALVE ASS'Y,SUCTION AND SAFETY

Выбрано товаров: 0