Запчасти Komatsu PC120-5 ГИДРОЛИНИЯ (РАБОЧЕЕ ОБОРУДОВАНИЕ УПРАВЛ-Е¤ ЛЕВ.) (ДЛЯ УДЛИНН. РЫЧАГ УПРАВЛ-Е) (KOMATSU PATTERN)(№-8) СИСТЕМА УПРАВЛЕНИЯ И ОСНОВНАЯ РАМА

Схема запчастей Komatsu PC120-5 - ГИДРОЛИНИЯ (РАБОЧЕЕ ОБОРУДОВАНИЕ УПРАВЛ-Е¤ ЛЕВ.) (ДЛЯ УДЛИНН. РЫЧАГ УПРАВЛ-Е) (KOMATSU PATTERN)(№-8) СИСТЕМА УПРАВЛЕНИЯ И ОСНОВНАЯ РАМА
FIT
1:1
100%

Артикул

Название

Примечание

Количество

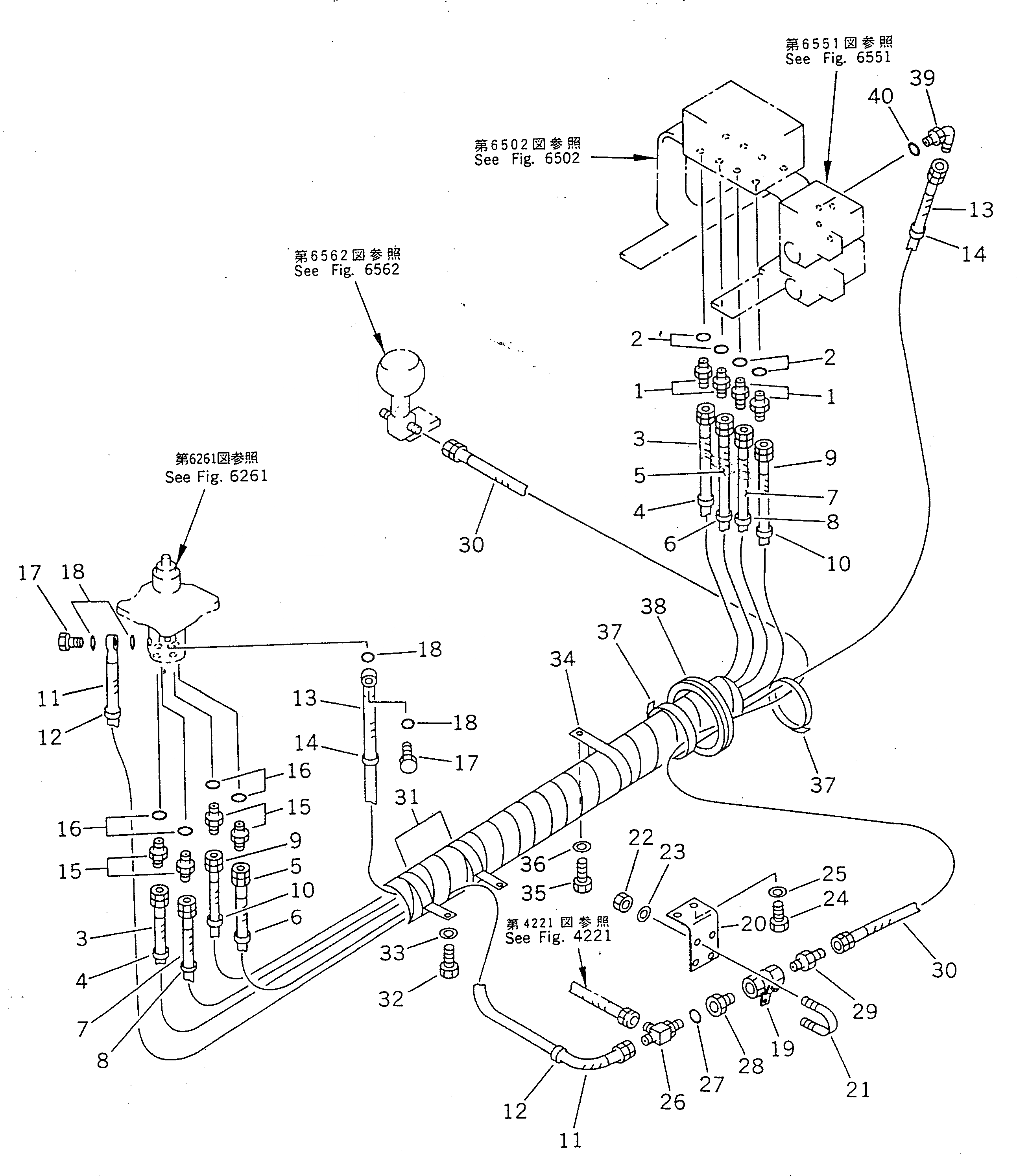
1

07230-20210

UNION

2

07002-01423

O-RING

3

203-62-57120

HOSE

4

203-62-57950

MARK¤ 5

5

203-62-57120

HOSE

6

203-62-57960

MARK¤ 6

7

07102-20221

HOSE

8

203-62-57970

MARK¤ 7

9

07102-20221

HOSE

10

203-62-57980

MARK¤ 8

11

203-62-57631

HOSE

12

203-62-58160

MARK¤ P1

13

203-62-57140

HOSE

14

203-62-58210

MARK¤ T1

15

07230-20210

UNION

16

07002-01423

O-RING

17

203-62-57730

BOLT,JOINT

18

07000-02018

O-RING

19

203-62-58870

VALVE

20

203-62-57881

BRACKET

21

07283-23442

CLIP

22

01599-01011

NUT

23

01643-31032

WASHER

24

01010-51020

BOLT

25

01643-31032

WASHER

26

208-62-17550

TEE

27

07002-01423

O-RING

28

203-62-58860

NIPPLE

29

201-62-27650

NIPPLE

30

07102-20312

HOSE

31

21K-62-21660

CLIP

32

01010-51020

BOLT

33

01643-31032

WASHER

34

21T-06-11950

CLIP

35

01010-51225

BOLT

36

01643-31232

WASHER

37

08034-00834

BAND

38

203-43-56630

GROMMET

39

07235-10210

ELBOW

40

07002-01423

O-RING

Выбрано товаров: 40