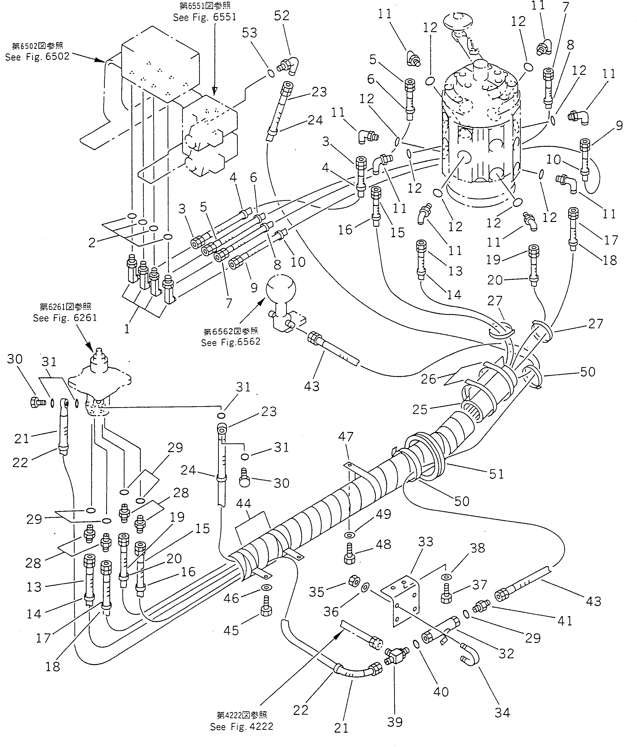
Запчасти Komatsu PC120-5 ГИДРОЛИНИЯ (РАБОЧЕЕ ОБОРУДОВАНИЕ УПРАВЛ-Е¤ ЛЕВ.) (ДЛЯ УДЛИНН. РЫЧАГ УПРАВЛ-Е)(MULTI PATTERN) (ДЛЯ ЯПОН.)(№-) СИСТЕМА УПРАВЛЕНИЯ И ОСНОВНАЯ РАМА

Схема запчастей Komatsu PC120-5 - ГИДРОЛИНИЯ (РАБОЧЕЕ ОБОРУДОВАНИЕ УПРАВЛ-Е¤ ЛЕВ.) (ДЛЯ УДЛИНН. РЫЧАГ УПРАВЛ-Е)(MULTI PATTERN) (ДЛЯ ЯПОН.)(№-) СИСТЕМА УПРАВЛЕНИЯ И ОСНОВНАЯ РАМА
FIT
1:1
100%

Артикул

Название

Примечание

Количество

1

208-62-18190

ELBOW

|1

203-916-5710

ELBOW

2

07002-01423

O-RING

3

07102-20204

HOSE

4

203-62-58520

MARK¤ A1

5

07102-20204

HOSE

6

203-62-58530

MARK¤ A2

7

07102-20205

HOSE

8

203-62-58140

MARK¤ A3

9

07102-20205

HOSE

10

203-62-58150

MARK¤ A4

11

07235-10210

ELBOW

12

07002-01423

O-RING

13

07102-20226

HOSE

14

203-62-57950

MARK¤ 5

15

07102-20225

HOSE

16

203-62-57960

MARK¤ 6

17

07102-20225

HOSE

18

203-62-57970

MARK¤ 7

19

07102-20224

HOSE

20

203-62-57980

MARK¤ 8

21

203-62-57631

HOSE

22

203-62-58160

MARK¤ P1

23

203-62-57140

HOSE

24

203-62-58210

MARK¤ T1

25

205-62-53780

COVER

26

08034-00823

BAND

27

08034-00536

BAND

28

07230-20210

UNION

29

07002-01423

O-RING

30

203-62-57730

BOLT,JOINT

31

07000-02018

O-RING

32

20Y-62-15650

VALVE

33

203-62-57880

BRACKET

34

07283-23442

CLIP

35

01599-01011

NUT

36

01643-31032

WASHER

37

01010-51020

BOLT

38

01643-31032

WASHER

39

203-62-57860

TEE

40

07002-02034

O-RING

41

07230-20315

UNION

42

07002-02034

O-RING

43

07102-20312

HOSE

44

21K-62-21660

CLIP

45

01010-51020

BOLT

46

01643-31032

WASHER

47

21T-06-11950

CLIP

48

01010-51225

BOLT

49

01643-31232

WASHER

50

08034-00834

BAND

51

203-43-56630

GROMMET

52

07235-10210

ELBOW

53

07002-01423

O-RING

Выбрано товаров: 54