Запчасти Komatsu PC120-5K ЭЛЕКТРИКА (ДОПОЛН. РАБОЧ. ОСВЕЩЕНИЕ И ЛИНИЯ НИЖН. ДВОРНИКОВ)(№K-K) КОМПОНЕНТЫ ДВИГАТЕЛЯ И ЭЛЕКТРИКА

Схема запчастей Komatsu PC120-5K - ЭЛЕКТРИКА (ДОПОЛН. РАБОЧ. ОСВЕЩЕНИЕ И ЛИНИЯ НИЖН. ДВОРНИКОВ)(№K-K) КОМПОНЕНТЫ ДВИГАТЕЛЯ И ЭЛЕКТРИКА
FIT
1:1
100%

Артикул

Название

Примечание

Количество

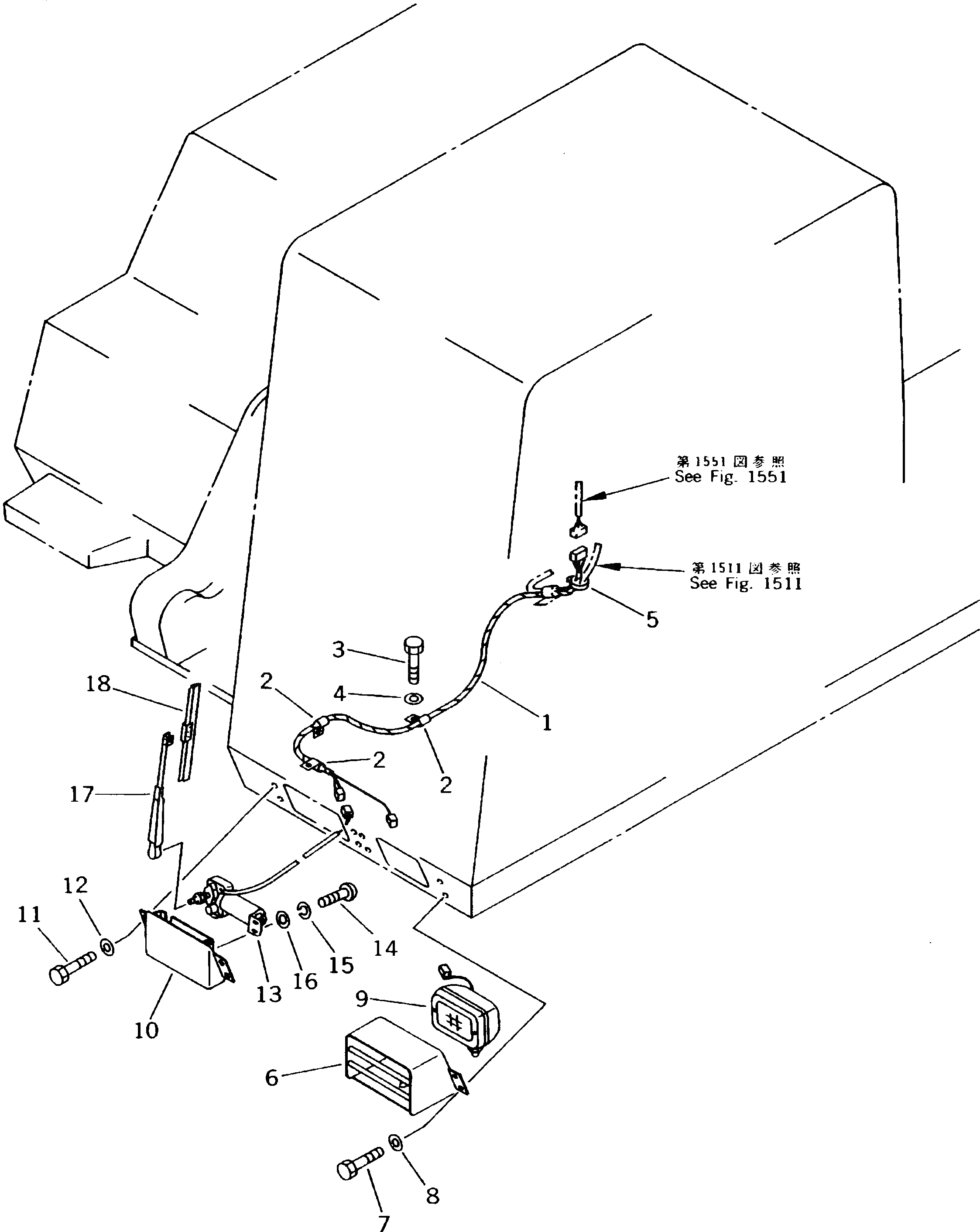
1

203-06-K1260

WIRING HARNESS

2

08036-01414

CLIP

3

01010-51016

BOLT

4

01643-31032

WASHER

5

08034-00310

BAND

6

203-06-59510

BRACKET

7

01010-51025

BOLT

8

01643-31032

WASHER

9

205-06-K1220

WORK LAMP ASS'Y

|9

205-06-K1890

BULB¤ 70W

10

203-06-59520

BRACKET

11

01010-51025

BOLT

12

01643-31032

WASHER

13

198-911-3380

WIPER MOTOR ASS'Y

14

01220-40516

SCREW

15

01601-20513

WASHER,SPRING

16

01641-20508

WASHER

17

08184-30350

ARM,WIPER

18

08185-00300

BLADE,WIPER

Выбрано товаров: 0