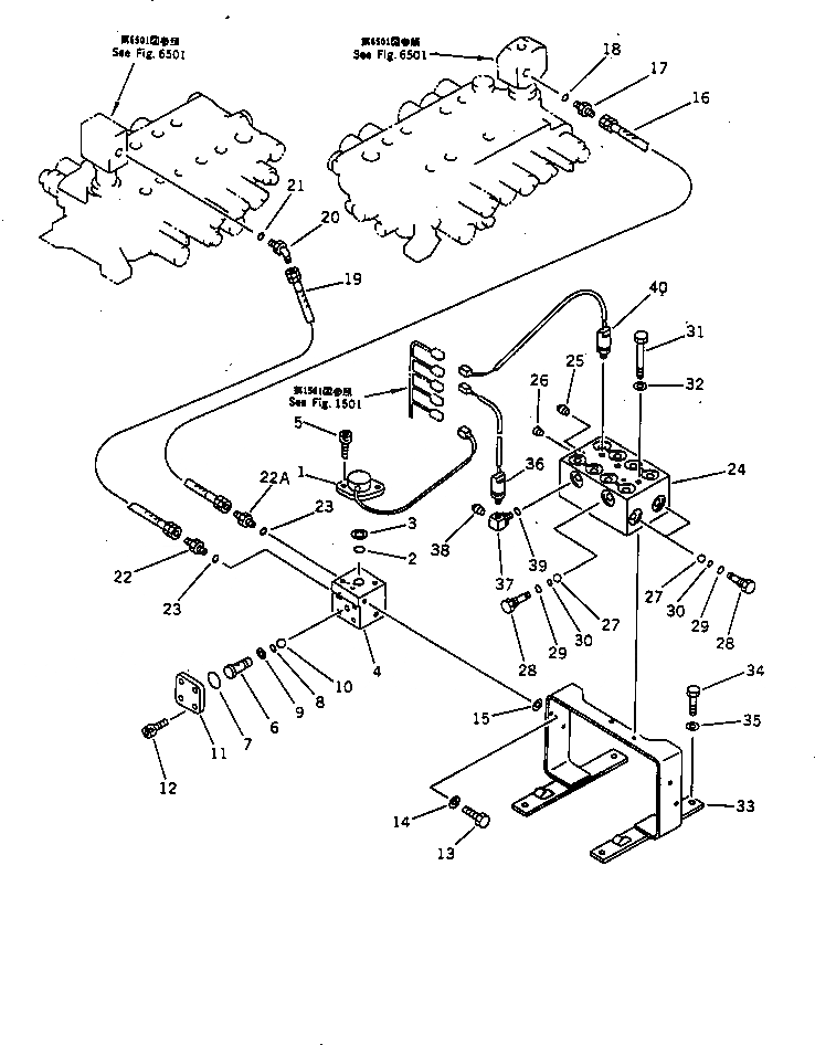
Запчасти Komatsu PC120-5M ГИДРОЛИНИЯ (ДАТЧИК ДАВЛЕНИЯ ЛИНИЯ И РАСПРЕДЕЛИТ. КЛАПАН) УПРАВЛ-Е РАБОЧИМ ОБОРУДОВАНИЕМ

Схема запчастей Komatsu PC120-5M - ГИДРОЛИНИЯ (ДАТЧИК ДАВЛЕНИЯ ЛИНИЯ И РАСПРЕДЕЛИТ. КЛАПАН) УПРАВЛ-Е РАБОЧИМ ОБОРУДОВАНИЕМ
FIT
1:1
100%

Артикул

Название

Примечание

Количество

1

7861-92-1540

SENSOR,OIL PRESSURE (SEE FIG.1501)

2

07000-22016

O-RING

3

07001-02016

RING,BACK-UP

4

203-60-56111

BLOCK

5

203-62-58570

BOLT

6

709-70-91320

PLUG

7

07000-12012

O-RING

8

07000-11003

O-RING

9

07001-01003

RING,BACK-UP

10

700-84-11730

BALL

11

709-70-91330

PLATE

12

01252-40616

BOLT

13

01010-51030

BOLT

14

01643-31032

WASHER

15

01640-21016

WASHER

16

07096-00207

HOSE

17

07230-20210

UNION

18

07002-11423

O-RING

19

07096-00209

HOSE

20

07236-10210

ELBOW

21

07002-11423

O-RING

22

07230-20210

UNION

22A

07230-20210

UNION

23

07002-11423

O-RING

24

203-60-56142

BLOCK

25

07042-30108

PLUG

26

07043-70108

PLUG

27

04260-00793

BALL

28

702-19-12120

PLUG

29

07002-01423

O-RING

30

07000-01007

O-RING

31

01010-51095

BOLT

32

01643-31032

WASHER

33

203-60-56162

BRACKET

34

01010-51035

BOLT

35

01643-31032

WASHER

36

203-06-56121

SWITCH,SWING

37

203-62-58390

ELBOW

38

07042-30108

PLUG

39

07002-01023

O-RING

40

203-06-56121

SWITCH,WORK EQUIPMENT

Выбрано товаров: 41