Запчасти Komatsu PC120-5M HYDROULIC НАСОС (T.V.C. КЛАПАН В СБОРЕ¤ ПЕРЕДН.) (/) УПРАВЛ-Е РАБОЧИМ ОБОРУДОВАНИЕМ

Схема запчастей Komatsu PC120-5M - HYDROULIC НАСОС (T.V.C. КЛАПАН В СБОРЕ¤ ПЕРЕДН.) (/) УПРАВЛ-Е РАБОЧИМ ОБОРУДОВАНИЕМ
FIT
1:1
100%

Артикул

Название

Примечание

Количество

|$0

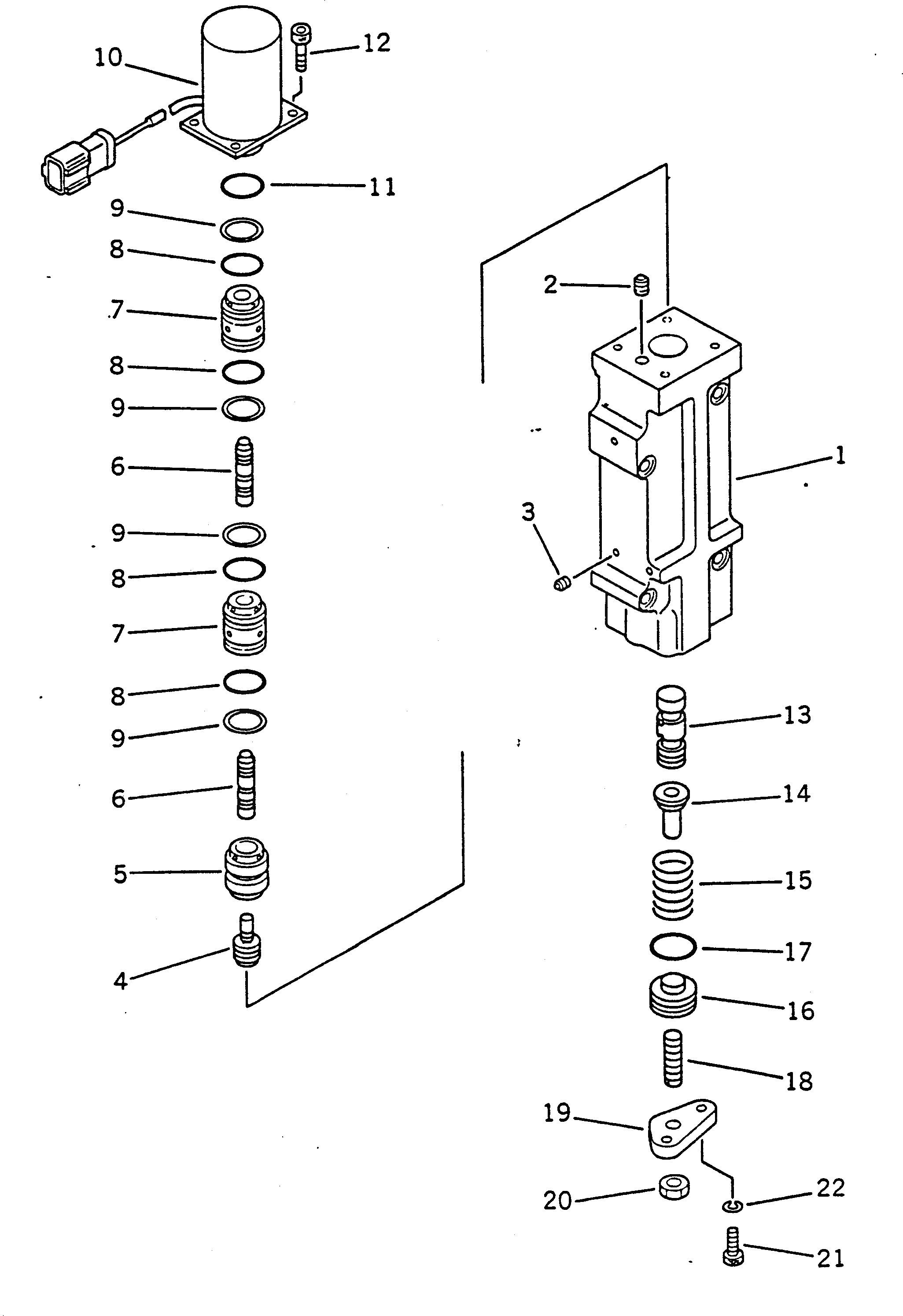
708-23-04014

PUMP ASS'Y,HYDRAULIC (HPV55+55)

|$1

708-23-04512

VALVE ASS'Y,SERVO, FRONT

|$2

708-23-04911

VALVE ASS'Y,T.V.C.

|$3

708-23-00461

BODY ASS'Y

1

BODY

2

PLUG

3

EXPANDER

4

708-23-18120

PISTON

5

708-23-18130

SLEEVE

6

708-25-18120

PISTON

7

708-23-18260

SLEEVE

8

07000-12016

O-RING

9

07001-02016

RING,BACK-UP

10

708-23-18272

SOLENOID ASS'Y

11

07000-02016

O-RING

12

708-23-18250

BOLT

13

708-23-18161

SPOOL

14

708-23-18170

SEAT

15

708-23-18181

SPRING

16

708-23-15160

PLUG

17

07000-02018

O-RING

18

708-25-15340

SCREW

19

708-23-18210

COVER

20

01580-10806

NUT

21

708-25-15320

BOLT

22

01602-20619

WASHER,SPRING

Выбрано товаров: 26