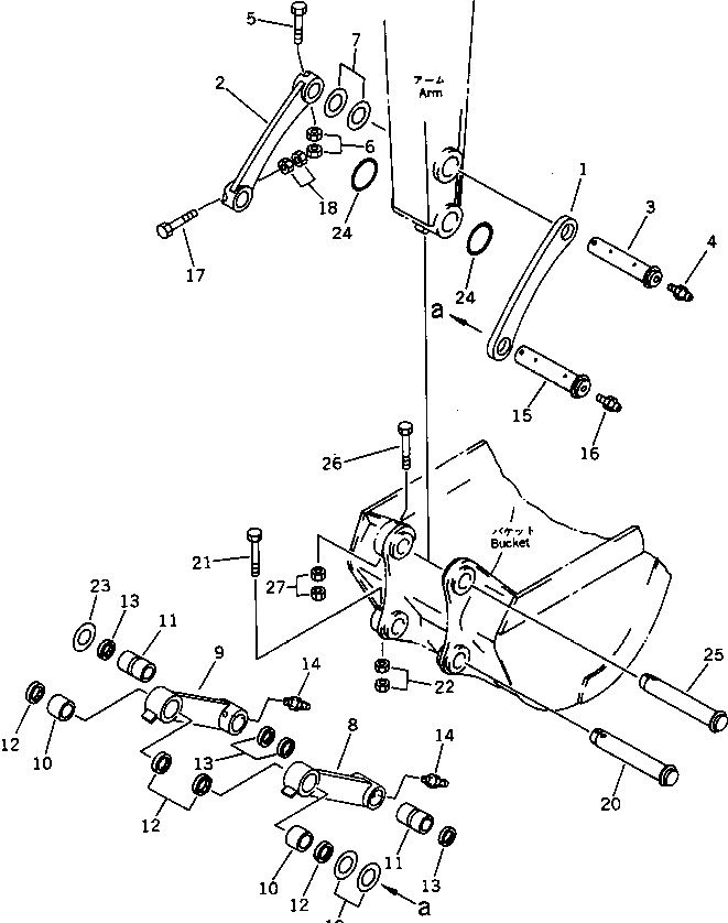
Запчасти Komatsu PC120-5S УСИЛЕНН. СОЕДИНЕНИЕ КОВША РАБОЧЕЕ ОБОРУДОВАНИЕ

Схема запчастей Komatsu PC120-5S - УСИЛЕНН. СОЕДИНЕНИЕ КОВША РАБОЧЕЕ ОБОРУДОВАНИЕ
FIT
1:1
100%

Артикул

Название

Примечание

Количество

1

203-70-54110

LINK,L.H.

2

203-70-54120

LINK,R.H.

3

202-70-64151

PIN

4

07020-00000

FITTING,GREASE

5

01011-51620

BOLT

6

01580-11613

NUT

7

203-70-24150

SPACER¤ 1.0MM

|7

203-70-24160

SPACER¤ 2.0MM

|8

203-70-00560

LINK ASS'Y,L.H.

|8

203-70-00580

LINK ASS'Y,R.H.

8

LINK,L.H.

9

LINK,R.H.

10

203-70-56140

BUSHING

11

203-70-56160

BUSHING

12

07145-00065

SEAL,DUST

13

07145-00060

SEAL,DUST

14

07020-00000

FITTING,GREASE

15

202-70-64161

PIN

16

07020-00000

FITTING,GREASE

17

01011-51620

BOLT

18

01580-11613

NUT

19

202-70-48460

SPACER¤ 1.0MM

|19

203-70-44430

SPACER¤ 2.0MM

20

203-70-44380

PIN

21

01011-51640

BOLT

22

01580-11613

NUT

23

203-70-24150

SPACER¤ 1.0MM

|23

203-70-24160

SPACER¤ 2.0MM

24

203-70-44470

O-RING

25

203-70-44380

PIN

26

01011-51670

BOLT

27

01580-11613

NUT

Выбрано товаров: 32