Запчасти Komatsu PC120-5X ГИДРОЛИНИЯ (ГЛАВН. ТРУБЫ /) УПРАВЛ-Е РАБОЧИМ ОБОРУДОВАНИЕМ

Схема запчастей Komatsu PC120-5X - ГИДРОЛИНИЯ (ГЛАВН. ТРУБЫ /) УПРАВЛ-Е РАБОЧИМ ОБОРУДОВАНИЕМ
FIT
1:1
100%

Артикул

Название

Примечание

Количество

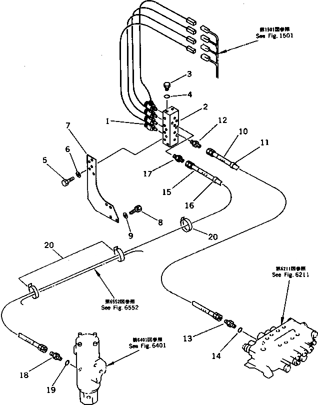
1

203-60-56180

VALVE

2

203-60-56121

BLOCK

3

07040-11007

PLUG

4

07002-01023

O-RING

5

01010-51030

BOLT

6

01643-31032

WASHER

7

203-60-56171

PLATE

8

01010-51230

BOLT

9

01643-31232

WASHER

10

07102-20207

HOSE

11

203-62-58140

MARK

12

07238-10210

CONNECTOR

13

07230-20210

UNION

14

07002-01423

O-RING

15

07102-20215

HOSE

16

203-62-58530

MARK

17

07238-10210

CONNECTOR

18

07230-20210

UNION

19

07002-01423

O-RING

20

08034-00823

BAND

Выбрано товаров: 20