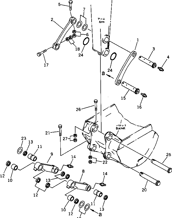
Запчасти Komatsu PC120-5X УСИЛЕНН. СОЕДИНЕНИЕ КОВША РАБОЧЕЕ ОБОРУДОВАНИЕ

Схема запчастей Komatsu PC120-5X - УСИЛЕНН. СОЕДИНЕНИЕ КОВША РАБОЧЕЕ ОБОРУДОВАНИЕ
FIT
1:1
100%

Артикул

Название

Примечание

Количество

1

203-70-54110

LINK,L.H.

2

203-70-54120

LINK,R.H.

3

202-70-64150

PIN

4

07020-00000

FITTING,GREASE

5

01011-51620

BOLT

6

01580-11613

NUT

7

203-70-24150

SPACER¤ 1.0MM

|7

203-70-24160

SPACER¤ 2.0MM

|8

203-70-00560

LINK ASS'Y

8

LINK

9

203-70-56140

BUSHING

10

203-70-56160

BUSHING

11

07145-00065

SEAL,DUST

12

07145-00060

SEAL,DUST

13

07020-00000

FITTING,GREASE

14

202-70-64160

PIN

15

07020-00000

FITTING,GREASE

16

01011-51620

BOLT

17

01580-11613

NUT

18

202-70-48460

SPACER¤ 1.0MM

|18

203-70-44430

SPACER¤ 2.0MM

19

203-70-44380

PIN

20

01011-51640

BOLT

21

01580-11613

NUT

22

203-70-24150

SPACER¤ 1.0MM

|22

203-70-24160

SPACER¤ 2.0MM

23

203-70-44470

O-RING

24

203-70-44380

PIN

25

01011-51670

BOLT

26

01580-11613

NUT

Выбрано товаров: 0