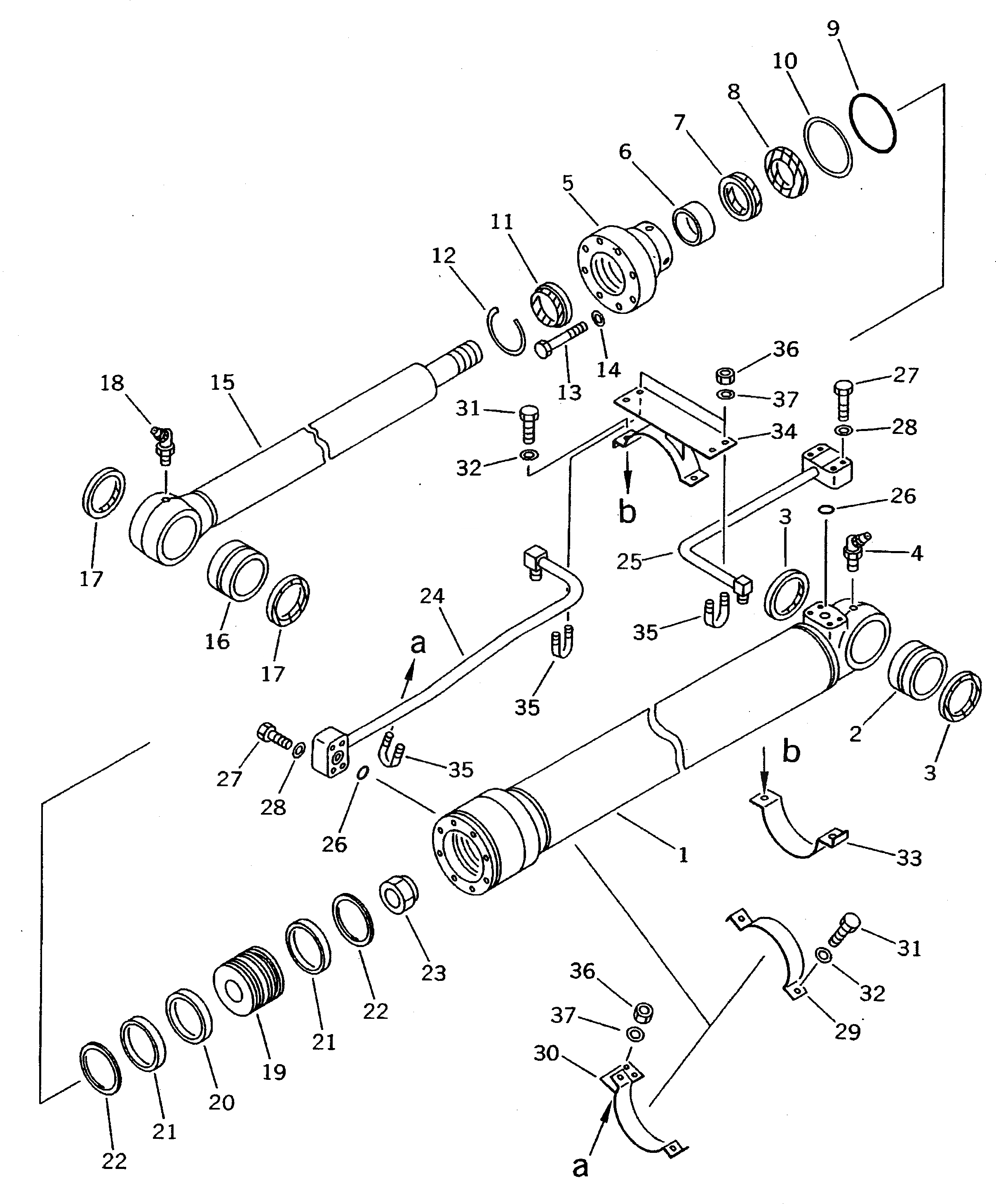
Запчасти Komatsu PC120-5X ЦИЛИНДР КОВША РАБОЧЕЕ ОБОРУДОВАНИЕ

Схема запчастей Komatsu PC120-5X - ЦИЛИНДР КОВША РАБОЧЕЕ ОБОРУДОВАНИЕ
FIT
1:1
100%

Артикул

Название

Примечание

Количество

|1

203-63-02130

CYLINDER ASS'Y,BUCKET

1

203-63-74340

CYLINDER

2

707-76-65210

BUSHING

3

07145-00065

SEAL,DUST

4

07020-00675

FITTING,GREASE

5

707-27-95620

HEAD,CYLINDER

6

707-52-90400

BUSHING

7

707-51-65030

PACKING,ROD

8

707-51-65630

RING,BUFFER

9

07000-15090

O-RING

10

07001-05090

RING,BACK-UP

11

144-63-92170

SEAL,DUST

12

07179-12079

RING,SNAP

13

01010-81465

BOLT

14

705-17-04980

WASHER

15

203-63-74320

ROD

16

707-76-65220

BUSHING

17

707-77-65110

SEAL,DUST

18

07020-00675

FITTING,GREASE

19

707-36-95410

PISTON

20

707-44-95180

RING,PISTON

21

707-39-95120

RING,WEAR

22

707-44-95911

RING

23

07165-14547

NUT,NYLON

24

202-63-74370

TUBE

25

202-63-74380

TUBE

26

07000-13025

O-RING

27

01010-50850

BOLT

28

01643-50823

WASHER

29

707-88-96250

BAND

30

707-88-95531

BRACKET

31

01010-51035

BOLT

32

01643-51032

WASHER

33

707-88-96260

BAND

34

707-88-95540

BRACKET

35

07283-22236

CLIP

36

01599-01011

NUT

37

01643-31032

WASHER

Выбрано товаров: 38