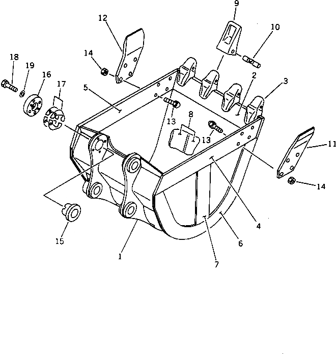
Запчасти Komatsu PC120-5X УСИЛЕНН. КОВШ¤ .M 8MM (ГОРИЗОНТАЛЬН. ПАЛЕЦ) РАБОЧЕЕ ОБОРУДОВАНИЕ

Схема запчастей Komatsu PC120-5X - УСИЛЕНН. КОВШ¤ .M 8MM (ГОРИЗОНТАЛЬН. ПАЛЕЦ) РАБОЧЕЕ ОБОРУДОВАНИЕ
FIT
1:1
100%

Артикул

Название

Примечание

Количество

|1

203-70-00220

BUCKET ASS'Y

1

203-70-53240

BUCKET

2

203-70-53121

PLATE (WELDED)

3

205-939-7120

ADAPTER (WELDED)

4

203-70-53132

PLATE,L.H. (WELDED)

5

203-70-53142

PLATE,R.H. (WELDED)

6

203-70-53250

PLATE (WELDED)

7

203-70-53260

PLATE (WELDED)

8

203-70-53190

PLATE (WELDED)

9

205-70-19570

TOOTH

10

09244-02496

PIN

11

202-70-63161

CUTTER,L.H.

12

202-70-63171

CUTTER,R.H.

13

208-32-11231

BOLT

14

01803-02228

NUT

15

202-70-64250

SPACER

16

202-70-64240

PLATE

17

202-70-64210

SPACER¤ 0.5MM

|17

202-70-64220

SPACER¤ 1.0MM

18

01010-51470

BOLT

19

01643-31445

WASHER

Выбрано товаров: 21