Запчасти Komatsu PC120-5X КОВШ¤ .M MM (ГОРИЗОНТАЛЬН. ПАЛЕЦ) РАБОЧЕЕ ОБОРУДОВАНИЕ

Схема запчастей Komatsu PC120-5X - КОВШ¤ .M MM (ГОРИЗОНТАЛЬН. ПАЛЕЦ) РАБОЧЕЕ ОБОРУДОВАНИЕ
FIT
1:1
100%

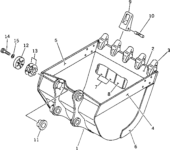
Артикул

Название

Примечание

Количество

|1

203-920-0060

BUCKET ASS'Y

1

203-920-5170

BUCKET

2

203-920-5130

PLATE (WELDED)

3

205-939-7120

ADAPTER (WELDED)

4

203-70-53132

PLATE,L.H. (WELDED)

5

203-70-53142

PLATE,R.H. (WELDED)

6

203-70-53220

PLATE (WELDED)

7

203-70-53210

PLATE (WELDED)

8

203-920-5160

PLATE,CENTER (WELDED)

9

205-70-19570

TOOTH

10

09244-02496

PIN

11

202-70-64250

SPACER

12

202-70-64240

PLATE

13

202-70-64210

SPACER¤ 0.5MM

|13

202-70-64220

SPACER¤ 1.0MM

14

01010-51470

BOLT

15

01643-31445

WASHER

Выбрано товаров: 17